Запчасти Komatsu JV40CW-2 ПЕРЕДН. РАМА И РОЛИК COVER(№-7) ЧАСТИ КОРПУСА

Схема запчастей Komatsu JV40CW-2 - ПЕРЕДН. РАМА И РОЛИК COVER(№-7) ЧАСТИ КОРПУСА
FIT
1:1
100%

Артикул

Название

Примечание

Количество

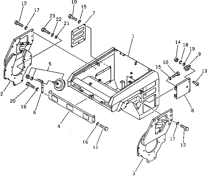
1

258-10-21003

FRAME

SN: 2191-2700

1шт.

|1

258-10-21002

FRAME

SN: 2001-2190

1шт.

2

258-10-22802

COVER,R.H.

SN: 2051-@

1шт.

|2

258-10-22801

COVER,R.H.

SN: 2001-2050

1шт.

3

258-10-22902

COVER,L.H.

SN: 2051-@

1шт.

|3

258-10-22901

COVER,L.H.

SN: 2001-2050

1шт.

4

258-10-26310

COVER

SN: 2001-@

1шт.

5

257-10-17610

MIRROR

SN: 2001-@

1шт.

6

258-10-27511

STAY

SN: 2001-@

1шт.

7

258-10-26721

COVER

SN: 2001-@

1шт.

8

258-10-26802

COVER

SN: 2191-2700

1шт.

|8

258-10-26801

COVER

SN: 2001-2190

1шт.

9

258-10-26900

LATCH

SN: 2001-2700

2шт.

10

01010-30816

BOLT

SN: 2001-@

10шт.

11

01010-31020

BOLT

SN: 2001-@

2шт.

12

01010-31660

BOLT

SN: 2001-@

18шт.

13

01235-40516

SCREW

SN: 2001-2700

4шт.

14

01580-20504

NUT

SN: 2001-2700

4шт.

15

01602-20825

WASHER,SPRING

SN: 2001-@

10шт.

16

01602-21030

WASHER,SPRING

SN: 2001-@

4шт.

17

01602-01648

WASHER,SPRING

SN: 2001-@

18шт.

18

01601-20513

WASHER,SPRING

SN: 2001-2700

4шт.

19

01641-20508

WASHER

SN: 2001-2700

4шт.

20

01010-31040

BOLT

SN: 2001-@

2шт.

21

26991-12-480

WASHER

SN: 2031-@

1шт.

22

01602-21030

WASHER,SPRING

SN: 2031-@

1шт.

23

01252-31035

BOLT

SN: 2031-@

1шт.

Выбрано товаров: 27