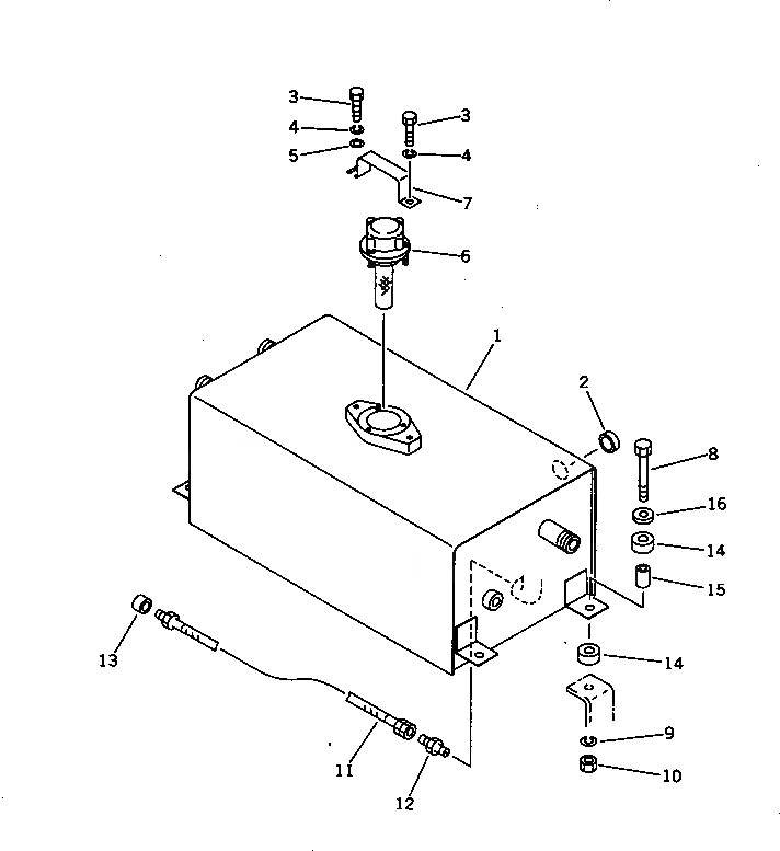
Запчасти Komatsu JV40CW-2 МАСЛ. БАК(№-7) УПРАВЛ-Е РАБОЧИМ ОБОРУДОВАНИЕМ

Схема запчастей Komatsu JV40CW-2 - МАСЛ. БАК(№-7) УПРАВЛ-Е РАБОЧИМ ОБОРУДОВАНИЕМ
FIT
1:1
100%

Артикул

Название

Примечание

Количество

1

258-80-22101

TANK

SN: 2001-2700

1шт.

2

265-30-13500

GAUGE

SN: 2001-@

1шт.

3

01010-30816

BOLT

SN: 2001-@

2шт.

4

01602-20825

WASHER,SPRING

SN: 2001-@

2шт.

5

01641-20812

WASHER

SN: 2001-@

1шт.

6

257-80-12300

CAP

SN: 2001-@

1шт.

7

257-80-12410

COVER

SN: 2001-@

1шт.

8

01010-31050

BOLT

SN: 2001-@

4шт.

9

01602-21030

WASHER,SPRING

SN: 2001-@

4шт.

10

01580-31008

NUT

SN: 2001-2700

4шт.

11

258-80-12521

HOSE

SN: 2001-@

1шт.

12

267-11-31004

NIPPLE

SN: 2001-@

1шт.

13

267-15-41144

CAP

SN: 2001-@

1шт.

14

258-80-22540

PAD

SN: 2001-@

8шт.

15

258-80-28251

PIPE

SN: 2001-@

4шт.

16

268-30-12360

WASHER

SN: 2001-@

4шт.

Выбрано товаров: 16