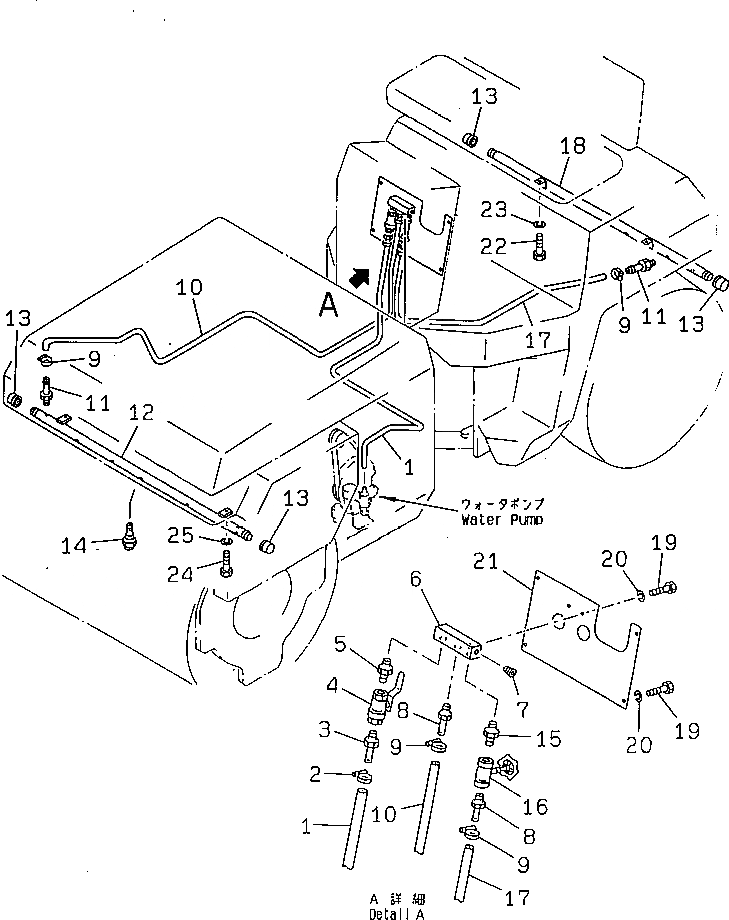
Запчасти Komatsu JV40CW-2 РАЗБРЫЗГИВАНИЕ ВОДЫ ТРУБЫ (/)(№7-) УПРАВЛ-Е РАБОЧИМ ОБОРУДОВАНИЕМ

Схема запчастей Komatsu JV40CW-2 - РАЗБРЫЗГИВАНИЕ ВОДЫ ТРУБЫ (/)(№7-) УПРАВЛ-Е РАБОЧИМ ОБОРУДОВАНИЕМ
FIT
1:1
100%

Артикул

Название

Примечание

Количество

1

267-19-15165

HOSE

SN: 2701-UP

1шт.

2

07280-02523

CLAMP

SN: 2001-UP

1шт.

3

258-80-14631

NIPPLE

SN: 2001-UP

1шт.

4

258-06-69011

VALVE

SN: 2001-UP

1шт.

5

07325-00400

NIPPLE

SN: 2001-UP

1шт.

6

258-80-24990

BLOCK

SN: 2001-UP

1шт.

7

07043-00415

PLUG

SN: 2001-UP

1шт.

8

2691-8-15140

NIPPLE

SN: 2001-UP

2шт.

9

07280-02023

CLAMP

SN: 2001-UP

4шт.

10

267-19-12320

HOSE

SN: 2001-UP

1шт.

11

258-05-55710

NIPPLE

SN: 2701-UP

2шт.

12

258-80-24402

PIPE

SN: 2701-UP

1шт.

13

258-80-24620

CAP

SN: 2701-UP

4шт.

14

258-80-25610

NOZZLE

SN: 2191-UP

10шт.

15

07325-00300

NIPPLE

SN: 2001-UP

1шт.

16

07702-10300

VALVE

SN: 2001-UP

1шт.

17

267-19-12190

HOSE

SN: 2701-UP

1шт.

18

258-80-24302

PIPE

SN: 2701-UP

1шт.

19

01010-30816

BOLT

SN: 2701-UP

6шт.

20

01602-20825

WASHER,SPRING

SN: 2701-UP

6шт.

21

258-10-25612

COVER

SN: 2701-UP

1шт.

22

01010-31025

BOLT

SN: 2701-UP

2шт.

23

01602-21030

WASHER,SPRING

SN: 2701-UP

2шт.

24

01010-30825

BOLT

SN: 2701-UP

2шт.

25

01602-20825

WASHER,SPRING

SN: 2701-UP

2шт.

Выбрано товаров: 25