Запчасти Komatsu JV40CW-2 ЗАДН. ПРИВОД МОТОР И ЦЕПЬ ГУСЕНИЦЫ

Схема запчастей Komatsu JV40CW-2 - ЗАДН. ПРИВОД МОТОР И ЦЕПЬ ГУСЕНИЦЫ
FIT
1:1
100%

Артикул

Название

Примечание

Количество

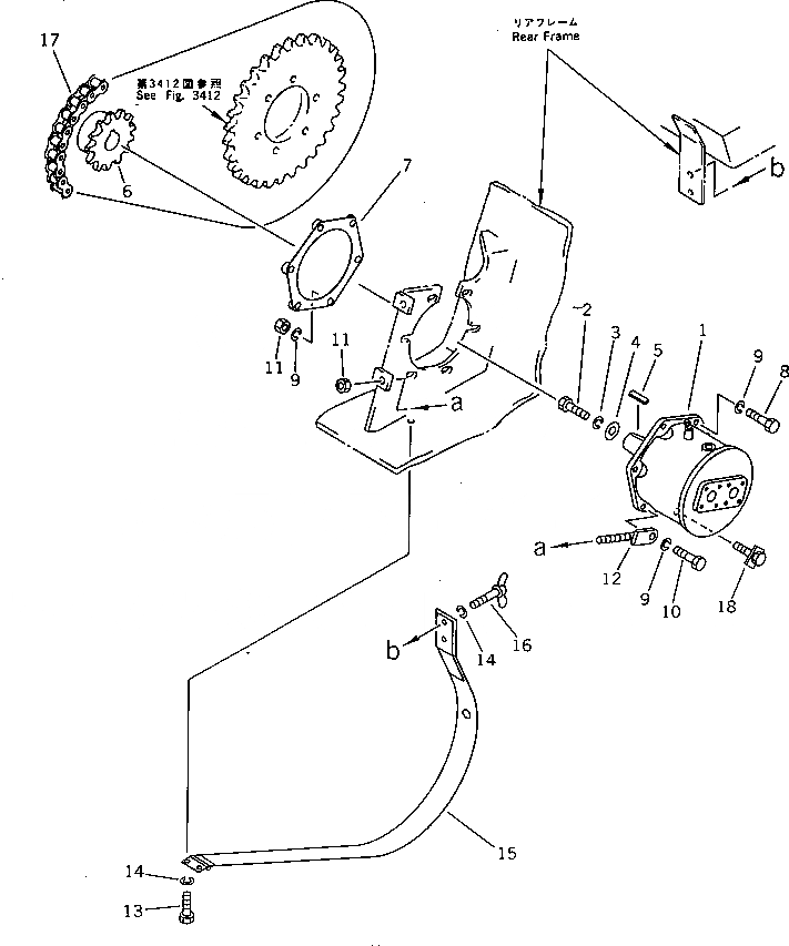
1

258-58-29200

MOTOR

SN: 2001-UP

1шт.

2

258-58-29210

BOLT

SN: 2001-UP

1шт.

3

258-58-29220

WASHER,SPRING

SN: 2001-UP

1шт.

4

258-58-29230

WASHER

SN: 2001-UP

1шт.

5

258-58-29240

KEY

SN: 2001-UP

1шт.

6

258-05-05501

SPROCKET

SN: 2001-UP

1шт.

7

258-58-29710

PLATE

SN: 2001-UP

1шт.

8

01010-31265

BOLT

SN: 2001-UP

2шт.

9

01602-01236

WASHER,SPRING

SN: 2001-UP

6шт.

10

01010-31250

BOLT

SN: 2001-UP

4шт.

11

01580-31210

NUT

SN: 2001-UP

4шт.

12

258-58-29400

BOLT,ADJUSTER

SN: 2001-UP

2шт.

13

01010-30816

BOLT

SN: 2001-UP

2шт.

14

01602-20825

WASHER,SPRING

SN: 2001-UP

4шт.

15

258-57-22400

GUARD,CHAIN

SN: 2001-UP

1шт.

16

01434-00820

BOLT, WING,WING

SN: 2001-UP

2шт.

17

04101-41066

CHAIN

SN: 2001-UP

1шт.

17

04104-41001

LINK

SN: 2001-UP

1шт.

18

258-58-29600

BOLT

SN: 2001-UP

2шт.

Выбрано товаров: 19