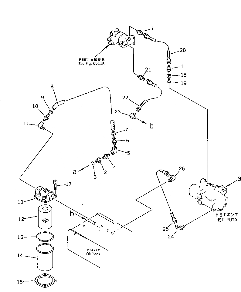
Запчасти Komatsu JV40CW-2 ГИДРОЛИНИЯ (МОТОР ХОДА ЛИНИЯ) (/)(№7-) УПРАВЛ-Е РАБОЧИМ ОБОРУДОВАНИЕМ

Схема запчастей Komatsu JV40CW-2 - ГИДРОЛИНИЯ (МОТОР ХОДА ЛИНИЯ) (/)(№7-) УПРАВЛ-Е РАБОЧИМ ОБОРУДОВАНИЕМ
FIT
1:1
100%

Артикул

Название

Примечание

Количество

1

267-11-31002

NIPPLE

SN: 2001-UP

2шт.

2

267-13-42108

NIPPLE

SN: 2001-UP

1шт.

3

267-13-59160

O-RING

SN: 2001-UP

1шт.

4

07327-20800

NIPPLE

SN: 2001-UP

1шт.

5

258-07-01008

ELBOW

SN: 2001-UP

1шт.

6

267-11-51025

NIPPLE

SN: 2001-UP

1шт.

7

07280-04126

CLAMP

SN: 2001-UP

1шт.

8

268-18-25090

HOSE

SN: 2701-UP

1шт.

9

07280-04126

CLAMP

SN: 2001-UP

1шт.

10

267-11-51025

NIPPLE

SN: 2001-UP

1шт.

11

258-07-01208

ELBOW

SN: 2001-UP

1шт.

|$11

257-80-17300

FILTER ASS'Y

SN: 2001-UP

1шт.

12

257-80-17310

ELEMENT ASS'Y

SN: 2001-UP

1шт.

13

257-80-17320

COVER,HEAD

SN: 2001-UP

1шт.

14

257-80-17330

CASE

SN: 2001-UP

1шт.

15

257-80-17340

FLANGE

SN: 2001-UP

1шт.

16

257-80-17350

GASKET

SN: 2001-UP

1шт.

17

257-80-17360

BOLT

SN: 2001-UP

4шт.

18

267-13-30902

NIPPLE

SN: 2001-UP

1шт.

19

267-13-59060

O-RING

SN: 2001-UP

1шт.

20

267-97-50233

HOSE

SN: 2701-UP

1шт.

21

267-11-31002

NIPPLE

SN: 2701-UP

1шт.

22

267-97-50238

HOSE

SN: 2701-UP

1шт.

23

267-11-31452

ELBOW

SN: 2701-UP

1шт.

24

258-07-02326

ELBOW

SN: 2701-UP

1шт.

25

258-06-54161

HOSE

SN: 2701-UP

1шт.

26

258-07-02126

ELBOW

SN: 2701-UP

1шт.

Выбрано товаров: 27