Запчасти Komatsu JV40DW-3 ПЕРЕДН. СКРЕППЕР (/) (ПЕРЕДН.) ГУСЕНИЦЫ

Схема запчастей Komatsu JV40DW-3 - ПЕРЕДН. СКРЕППЕР (/) (ПЕРЕДН.) ГУСЕНИЦЫ
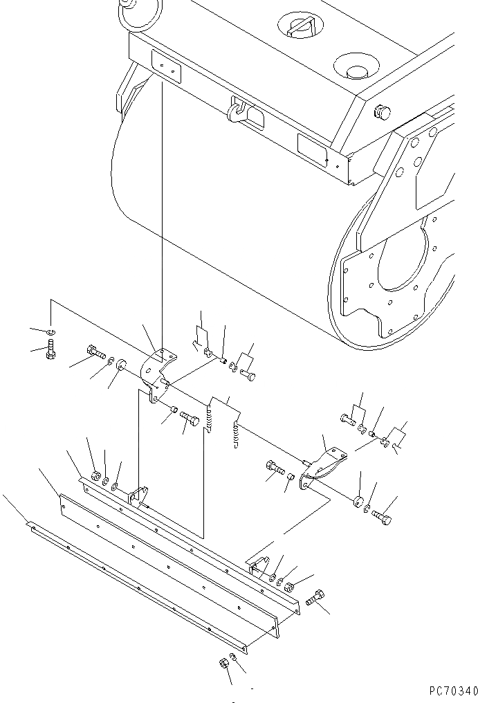
1
2
3
4
5
6
7
8
9
9
10
10
11
11
12
12
13
13
14
14
15
15
16
16
17
18
19
20
20
20
20
21
21
FIT
1:1
100%

Артикул

Название

Примечание

Количество

1

258-51-38330

SCRAPER

SN: 5001-UP

1шт.

2

258-51-38320

PLATE

SN: 5001-UP

1шт.

3

258-10-48600

BRACKET

SN: 5101-UP

1шт.

|3

258-51-38600

BRACKET

SN: 5001-5100

1шт.

4

01010-81035

BOLT

SN: 5001-UP

7шт.

5

01602-21030

WASHER,SPRING

SN: 5001-UP

7шт.

6

01580-11008

NUT

SN: 5001-UP

7шт.

7

258-10-48800

BRACKET

SN: 5101-UP

1шт.

|7

258-51-38800

BRACKET

SN: 5001-5100

1шт.

8

258-10-48700

BRACKET

SN: 5101-UP

1шт.

|8

258-51-38700

BRACKET

SN: 5001-5100

1шт.

9

2691-1-48920

SPACER

SN: 5001-UP

2шт.

10

01010-81650

BOLT

SN: 5001-UP

2шт.

11

01640-21626

WASHER

SN: 5001-UP

2шт.

12

01602-21648

WASHER,SPRING

SN: 5001-UP

2шт.

13

01580-11613

NUT

SN: 5001-UP

2шт.

14

2691-1-48911

STOPPER

SN: 5001-UP

2шт.

15

01010-80830

BOLT

SN: 5001-UP

2шт.

16

01602-20825

WASHER,SPRING

SN: 5001-UP

2шт.

17

01010-81025

BOLT

SN: 5001-UP

4шт.

18

01602-21030

WASHER,SPRING

SN: 5001-UP

4шт.

19

258-10-28120

SPRING

SN: 5001-UP

2шт.

20

04104-41001

LINK,JOINT

SN: 5001-UP

1шт.

21

2691-1-48930

SPACER

SN: 5001-UP

1шт.

Выбрано товаров: 24