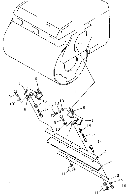
Запчасти Komatsu JV40W-2 ПЕРЕДН. СКРЕППЕР (/) (ЗАДН.)(№-) ГУСЕНИЦЫ

Схема запчастей Komatsu JV40W-2 - ПЕРЕДН. СКРЕППЕР (/) (ЗАДН.)(№-) ГУСЕНИЦЫ
FIT
1:1
100%

Артикул

Название

Примечание

Количество

1

258-10-28120

SPRING

SN: 2001-@

2шт.

2

258-10-28310

BRACKET

SN: 2001-2100

1шт.

3

258-10-28320

PLATE

SN: 2001-@

1шт.

4

258-10-28330

SCRAPER

SN: 2001-@

1шт.

5

258-10-29801

BRACKET

SN: 2001-2100

1шт.

6

258-10-29701

BRACKET

SN: 2001-2100

1шт.

7

258-10-28401

BRACKET

SN: 2001-2100

1шт.

8

258-10-28501

BRACKET

SN: 2001-2100

1шт.

9

01010-31055

BOLT

SN: 2001-2100

2шт.

10

268-30-12360

WASHER

SN: 2001-2100

6шт.

11

01580-31008

NUT

SN: 2001-@

4шт.

12

01010-31030

BOLT

SN: 2001-@

4шт.

13

01602-21030

WASHER,SPRING

SN: 2001-@

4шт.

14

01010-31035

BOLT

SN: 2001-2100

5шт.

15

01602-21030

WASHER,SPRING

SN: 2001-2100

5шт.

16

01580-31008

NUT

SN: 2001-2100

5шт.

17

01016-30870

BOLT

SN: 2001-2100

2шт.

18

01580-30806

NUT

SN: 2001-@

2шт.

Выбрано товаров: 18