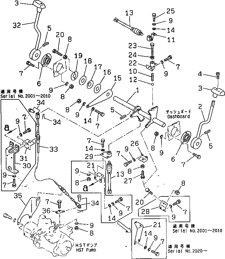
Запчасти Komatsu JV40W-2 ПЕРЕД. И РЕВЕРС РЫЧАГ УПРАВЛ-Я(№-) СИСТЕМА УПРАВЛЕНИЯ

Схема запчастей Komatsu JV40W-2 - ПЕРЕД. И РЕВЕРС РЫЧАГ УПРАВЛ-Я(№-) СИСТЕМА УПРАВЛЕНИЯ
FIT
1:1
100%

Артикул

Название

Примечание

Количество

1

258-30-26601

SHAFT

SN: 2001-2020

1шт.

2

258-30-26300

LEVER,L.H.

SN: 2001-@

1шт.

3

257-30-16531

KNOB

SN: 2001-@

2шт.

4

01236-40625

SCREW

SN: 2001-@

2шт.

5

267-12-60060

PIN,SPRING

SN: 2001-@

3шт.

6

267-17-15005

BEARING

SN: 2001-@

2шт.

7

01010-30820

BOLT

SN: 2011-2020

15шт.

7

01010-30820

BOLT

SN: 2001-2010

21шт.

8

01580-30806

NUT

SN: 2011-2020

11шт.

8

01580-30806

NUT

SN: 2001-2010

13шт.

9

01602-20825

WASHER,SPRING

SN: 2011-2020

15шт.

9

01602-20825

WASHER,SPRING

SN: 2001-2010

21шт.

10

265-30-18920

SPRING

SN: 2001-@

1шт.

11

258-30-26800

BRACKET

SN: 2001-@

1шт.

12

04260-01270

BALL

SN: 2001-@

1шт.

13

258-30-16710

SWITCH

SN: 2001-@

2шт.

14

01640-20812

WASHER

SN: 2001-@

7шт.

15

258-30-26520

PLATE

SN: 2001-@

1шт.

16

258-30-26530

PLATE

SN: 2001-@

1шт.

17

258-30-26510

SPRING

SN: 2001-@

1шт.

18

258-30-26540

PLATE

SN: 2001-@

1шт.

19

258-30-26550

PLATE

SN: 2001-@

1шт.

20

01016-30830

BOLT

SN: 2001-@

3шт.

21

259-30-26800

BRACKET

SN: 2011-2020

1шт.

21

258-30-27410

BRACKET

SN: 2001-2010

1шт.

22

258-30-26401

BRACKET

SN: 2011-@

1шт.

22

258-30-26400

BRACKET

SN: 2001-2010

1шт.

23

01010-31230

BOLT

SN: 2011-@

1шт.

24

01580-31210

NUT

SN: 2001-@

1шт.

25

01010-30816

BOLT

SN: 2001-@

2шт.

26

258-30-26230

BRACKET

SN: 2001-@

1шт.

27

01016-30830

BOLT

SN: 2001-@

1шт.

28

258-30-26220

BRACKET

SN: 2001-2010

1шт.

29

258-30-27201

BRACKET

SN: 2001-@

1шт.

30

258-30-27431

BRACKET

SN: 2001-2010

1шт.

31

258-30-26210

BRACKET

SN: 2001-2010

1шт.

32

258-30-27300

LEVER,R.H.

SN: 2001-@

1шт.

33

258-06-62250

WIRE

SN: 2001-2020

1шт.

33

0

WIRE

SN: (2001-.)

1шт.

34

2693-3-35410

JOINT ASS'Y,(M5)

SN: 2001-@

2шт.

34

0

JOINT ASS'Y,(M6)

SN: (2001-.)

2шт.

35

258-30-25110

BRACKET

SN: 2001-2020

1шт.

36

258-30-25120

PLATE

SN: 2001-2020

1шт.

Выбрано товаров: 43