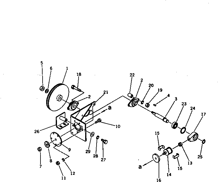
Запчасти Komatsu JV40W-2 ВОДЯНАЯ ПОМПА (/) УПРАВЛ-Е РАБОЧИМ ОБОРУДОВАНИЕМ

Схема запчастей Komatsu JV40W-2 - ВОДЯНАЯ ПОМПА (/) УПРАВЛ-Е РАБОЧИМ ОБОРУДОВАНИЕМ
FIT
1:1
100%

Артикул

Название

Примечание

Количество

|$0

258-80-23100

PUMP ASS'Y,WATER

SN: 2001-UP

1шт.

|$$2

THIS ASSEMBLY CONSISTS OF ALL PARTS SHOWN IN FIGS.6401 AND 6402.

-1шт.

1

258-80-13110

PULLEY

SN: 2001-UP

1шт.

2

267-17-11204

BEARING

SN: 2001-UP

2шт.

3

258-80-13120

SHAFT

SN: 2001-UP

1шт.

4

04000-00520

KEY

SN: 2001-UP

1шт.

5

267-15-41112

NUT

SN: 2001-UP

1шт.

6

01641-01223

WASHER

SN: 2001-UP

1шт.

7

01580-01008

NUT

SN: 2001-UP

1шт.

8

266-85-31330

GUARD

SN: 2001-UP

1шт.

9

266-85-31130

DIAPHRAGM

SN: 2001-UP

1шт.

10

01010-30625

BOLT

SN: 2001-UP

5шт.

11

01580-30605

NUT

SN: 2001-UP

5шт.

12

01602-00619

WASHER,SPRING

SN: 2001-UP

5шт.

13

01580-01008

NUT

SN: 2001-UP

1шт.

14

266-85-31310

CUSHION

SN: 2001-UP

1шт.

15

2691-8-13130

CHANNEL

SN: 2001-UP

2шт.

16

266-85-31320

GUARD

SN: 2001-UP

1шт.

17

258-80-13140

ROD

SN: 2001-UP

1шт.

18

01010-50850

BOLT

SN: 2001-UP

2шт.

19

01580-00806

NUT

SN: 2001-UP

2шт.

20

01602-00825

WASHER,SPRING

SN: 2001-UP

2шт.

21

258-80-13200

BRACKET

SN: 2001-UP

1шт.

22

258-80-13130

SPACER

SN: 2001-UP

2шт.

23

06009-06004

BEARING

SN: 2001-UP

2шт.

24

04065-04218

RING,SNAP

SN: 2001-UP

1шт.

25

04064-02012

RING,SNAP

SN: 2001-UP

1шт.

26

258-80-13300

BRACKET

SN: 2001-UP

1шт.

27

01010-30816

BOLT

SN: 2001-UP

1шт.

28

01602-00825

WASHER,SPRING

SN: 2001-UP

1шт.

29

266-91-08000

WASHER

SN: 2001-UP

1шт.

Выбрано товаров: 31