Запчасти Komatsu JV40W-2 РАДИАТОР И ЭЛЕМЕНТЫ КРЕПЛЕНИЯ(№-) КОМПОНЕНТЫ ДВИГАТЕЛЯ И ЭЛЕКТРИКА

Схема запчастей Komatsu JV40W-2 - РАДИАТОР И ЭЛЕМЕНТЫ КРЕПЛЕНИЯ(№-) КОМПОНЕНТЫ ДВИГАТЕЛЯ И ЭЛЕКТРИКА
FIT
1:1
100%

Артикул

Название

Примечание

Количество

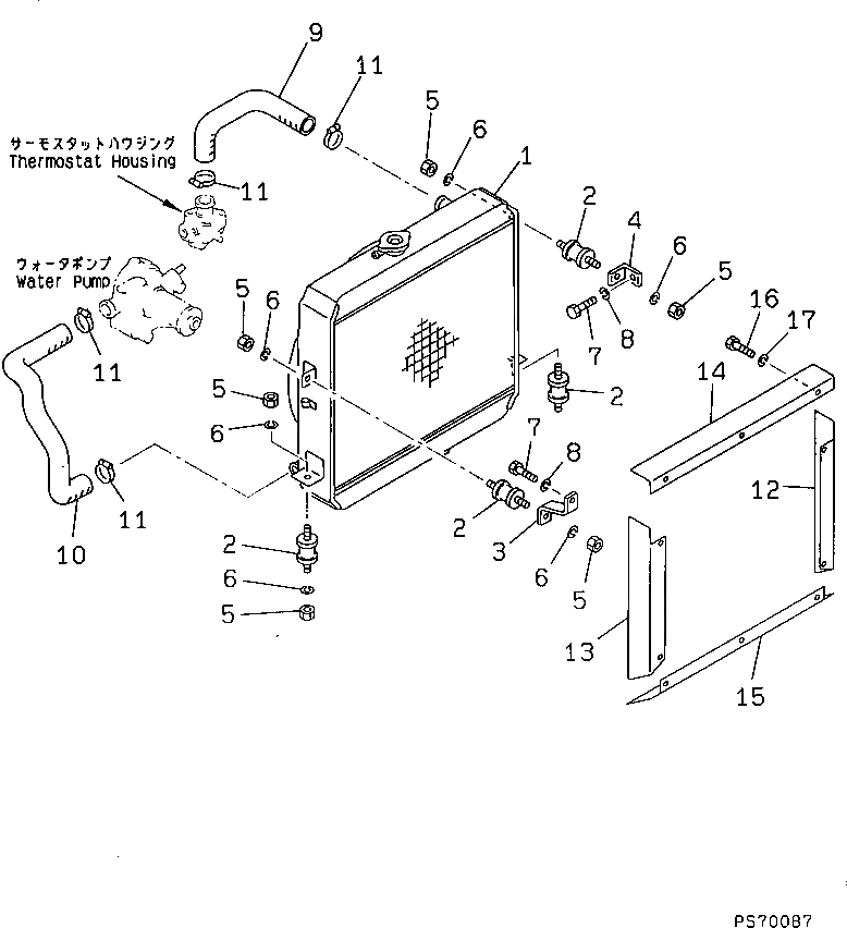
1

258-20-24100

RADIATOR ASS'Y

SN: 2001-@

1шт.

|1

258-20-24110

CAP

SN: 2001-@

1шт.

2

257-20-14310

CUSHION

SN: 2001-@

4шт.

3

258-20-24320

BRACKET

SN: 2001-2020

1шт.

4

258-20-24330

BRACKET

SN: 2001-@

1шт.

5

01580-30806

NUT

SN: 2001-@

8шт.

6

01602-20825

WASHER,SPRING

SN: 2001-@

8шт.

7

01010-30816

BOLT

SN: 2001-@

2шт.

8

01602-20825

WASHER,SPRING

SN: 2001-@

2шт.

9

YM121400-49011

HOSE

SN: 2001-@

1шт.

10

YM171301-49020

HOSE

SN: 2001-@

1шт.

11

07280-03826

CLAMP

SN: 2001-@

4шт.

12

258-20-24510

SHROUD

SN: 2001-2020

1шт.

13

258-20-24520

SHROUD

SN: 2001-2020

1шт.

14

258-20-24530

SHROUD

SN: 2001-2020

1шт.

15

258-20-24540

SHROUD

SN: 2001-2020

1шт.

16

01010-30812

BOLT

SN: 2001-2020

10шт.

17

01602-20825

WASHER,SPRING

SN: 2001-2020

10шт.

Выбрано товаров: 18