Запчасти Komatsu JV40W-2 ТОПЛ. БАК И ТОПЛИВОПРОВОД(№-) КОМПОНЕНТЫ ДВИГАТЕЛЯ И ЭЛЕКТРИКА

Схема запчастей Komatsu JV40W-2 - ТОПЛ. БАК И ТОПЛИВОПРОВОД(№-) КОМПОНЕНТЫ ДВИГАТЕЛЯ И ЭЛЕКТРИКА
FIT
1:1
100%

Артикул

Название

Примечание

Количество

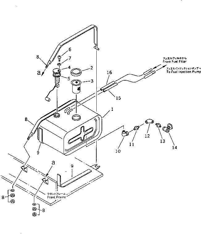
1

258-20-27103

TANK

SN: 2101-UP

1шт.

2

258-20-27123

CAP

SN: 2101-UP

1шт.

3

258-20-27133

SCREEN ASS'Y

SN: 2101-UP

1шт.

4

258-20-29111

UNIT,FUEL

SN: 2101-UP

1шт.

5

258-20-27430

GASKET

SN: 2001-UP

1шт.

6

01235-40514

SCREW

SN: 2001-UP

5шт.

7

01601-20513

WASHER,SPRING

SN: 2001-UP

5шт.

8

258-20-27220

BELT

SN: 2101-UP

2шт.

9

258-20-27230

SHEET

SN: 2101-UP

2шт.

10

258-07-01203

ELBOW

SN: 2101-UP

1шт.

11

07325-00300

NIPPLE

SN: 2101-UP

1шт.

12

258-07-01003

ELBOW

SN: 2101-UP

1шт.

13

257-20-17540

NIPPLE

SN: 2001-UP

1шт.

14

257-20-17550

VALVE

SN: 2001-UP

1шт.

15

258-20-27523

HOSE

SN: 2101-UP

1шт.

16

258-20-27533

HOSE

SN: 2101-UP

1шт.

Выбрано товаров: 16