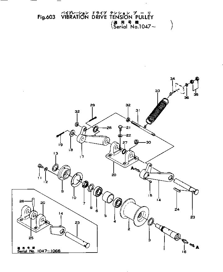
Запчасти Komatsu JV45-1 VIBRATION ПРИВОД НАТЯЖНОЙ РОЛИК РАБОЧЕЕ ОБОРУДОВАНИЕ И ITS СИСТЕМА УПРАВЛЕНИЯ

Схема запчастей Komatsu JV45-1 - VIBRATION ПРИВОД НАТЯЖНОЙ РОЛИК РАБОЧЕЕ ОБОРУДОВАНИЕ И ITS СИСТЕМА УПРАВЛЕНИЯ
FIT
1:1
100%

Артикул

Название

Примечание

Количество

|1

267-50-10302

TENSION PULLEY ASS'Y

SN: 1121-UP

1шт.

|1

267-50-10301

TENSION PULLEY ASS'Y

SN: 1067-1120

1шт.

|1

267-50-10300

TENSION PULLEY ASS'Y

SN: 1047-1066

1шт.

1

267-50-14171

SHAFT

SN: 1067-UP

1шт.

|1

267-50-14170

SHAFT

SN: 1047-1066

1шт.

2

267-50-14180

ROLLER

SN: 1047-UP

1шт.

3

267-50-18620

SEAL

SN: 1047-UP

1шт.

4

06000-06206

BEARING

SN: 1047-UP

1шт.

5

267-50-14190

SPACER

SN: 1047-UP

1шт.

6

06000-06206

BEARING

SN: 1047-UP

1шт.

7

265-06-06000

NUT

SN: 1047-UP

1шт.

8

265-07-06000

WASHER

SN: 1047-UP

1шт.

9

267-50-14220

COVER

SN: 1047-UP

1шт.

10

267-50-14210

GASKET

SN: 1047-UP

1шт.

11

01000-00620

BOLT

SN: 1121-UP

3шт.

|11

01000-00620

BOLT

SN: 1047-1120

6шт.

12

01601-00615

WASHER

SN: 1121-UP

3шт.

|12

01601-00615

WASHER

SN: 1047-1120

6шт.

13

267-50-18610

SEAL

SN: 1047-UP

1шт.

14

267-50-14151

ARM

SN: 1047-UP

1шт.

15

267-07-00808

SCREW

SN: 1047-UP

4шт.

16

07020-00000

FITTING

SN: 1047-UP

1шт.

17

267-50-14140

ARM

SN: 1047-UP

1шт.

18

267-50-14230

WASHER

SN: 1047-UP

1шт.

19

04050-04040

PIN

SN: 1047-UP

1шт.

20

267-50-14110

BRACKET

SN: 1047-UP

1шт.

21

01000-00825

BOLT

SN: 1047-UP

4шт.

22

01601-00820

WASHER

SN: 1047-UP

4шт.

23

267-50-14121

WASHER

SN: 1067-UP

1шт.

|23

267-50-14120

SHAFT

SN: 1047-1066

1шт.

24

04000-00718

KEY

SN: 1047-UP

1шт.

25

267-50-14130

COLLAR

SN: 1047-1066

1шт.

26

04030-00550

PIN

SN: 1047-1066

1шт.

27

04064-02512

RING

SN: 1067-UP

1шт.

28

267-50-14160

WASHER

SN: 1047-UP

1шт.

29

04050-04040

PIN

SN: 1047-UP

1шт.

30

266-04-05000

FITTING

SN: 1047-UP

2шт.

31

267-50-14300

BOLT

SN: 1047-UP

1шт.

32

01504-01207

NUT

SN: 1047-UP

2шт.

33

267-50-14240

SPRING

SN: 1047-UP

1шт.

34

267-50-14250

HOOK

SN: 1047-UP

1шт.

35

01501-00805

NUT

SN: 1047-UP

2шт.

36

01640-00816

WASHER

SN: 1047-UP

1шт.

Выбрано товаров: 43