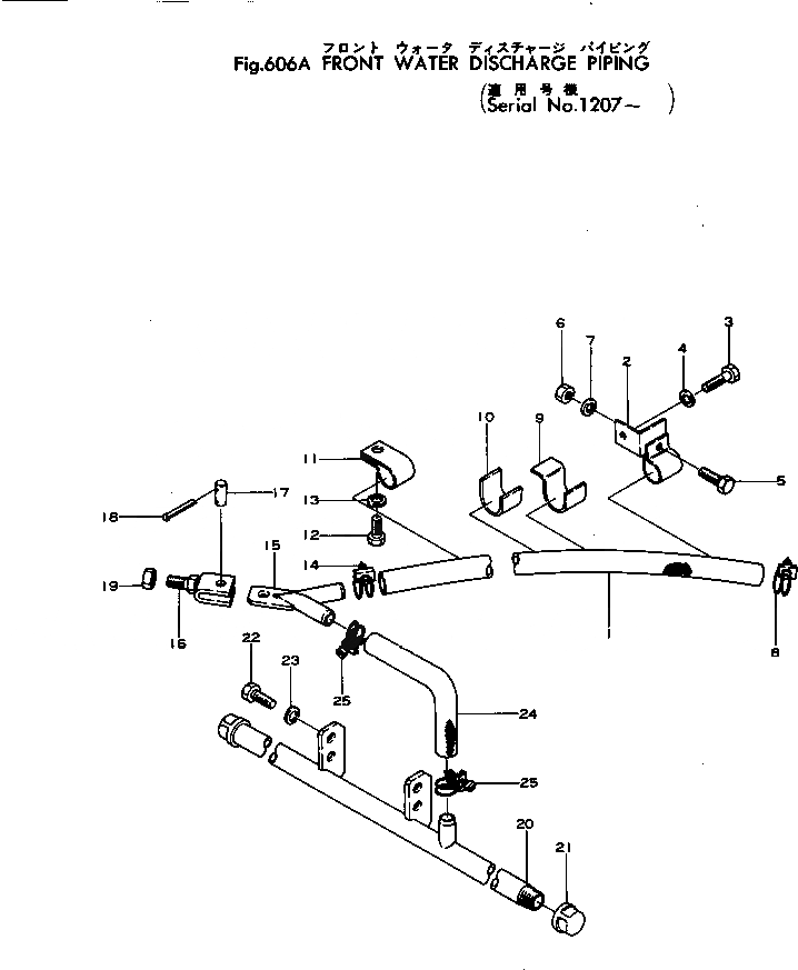
Запчасти Komatsu JV45-1 ПЕРЕДН. ВОДН. DISПОДАЧА ТРУБЫ(№7-) РАБОЧЕЕ ОБОРУДОВАНИЕ И ITS СИСТЕМА УПРАВЛЕНИЯ

Схема запчастей Komatsu JV45-1 - ПЕРЕДН. ВОДН. DISПОДАЧА ТРУБЫ(№7-) РАБОЧЕЕ ОБОРУДОВАНИЕ И ITS СИСТЕМА УПРАВЛЕНИЯ
FIT
1:1
100%

Артикул

Название

Примечание

Количество

1

267-80-11750

TUBE

SN: 1207-UP

1шт.

2

267-80-11641

BRACKET

SN: 1207-UP

1шт.

3

01000-30816

BOLT

SN: 1047-UP

1шт.

4

01602-00825

WASHER

SN: 1047-UP

1шт.

5

01000-30820

BOLT

SN: 1047-UP

1шт.

6

01500-30805

NUT

SN: 1047-UP

1шт.

7

01602-00825

WASHER

SN: 1047-UP

1шт.

8

266-92-10026

CLAMP

SN: 1207-UP

1шт.

9

267-10-11750

BRACKET

SN: 1207-UP

1шт.

10

267-10-17650

BRACKET

SN: 1207-UP

1шт.

11

267-80-12330

BRACKET

SN: 1207-UP

1шт.

12

01040-31020

BOLT

SN: 1207-UP

1шт.

13

01602-01030

WASHER

SN: 1207-UP

1шт.

14

266-92-10025

CLAMP

SN: 1207-UP

1шт.

15

266-80-13200

ELBOW

SN: 1207-UP

1шт.

16

266-80-13340

BRACKET

SN: 1207-UP

1шт.

17

266-80-13350

PIN

SN: 1207-UP

1шт.

18

04050-02015

PIN

SN: 1207-UP

2шт.

19

01500-31008

NUT

SN: 1207-UP

1шт.

20

267-80-12101

TUBE

SN: 1207-UP

1шт.

21

02725-00820

CAP

SN: 1207-UP

2шт.

22

01040-31020

BOLT

SN: 1047-UP

4шт.

23

01602-01030

WASHER

SN: 1047-UP

4шт.

24

267-80-11770

TUBE

SN: 1207-UP

1шт.

25

266-92-10026

CLAMP

SN: 1207-UP

2шт.

Выбрано товаров: 0