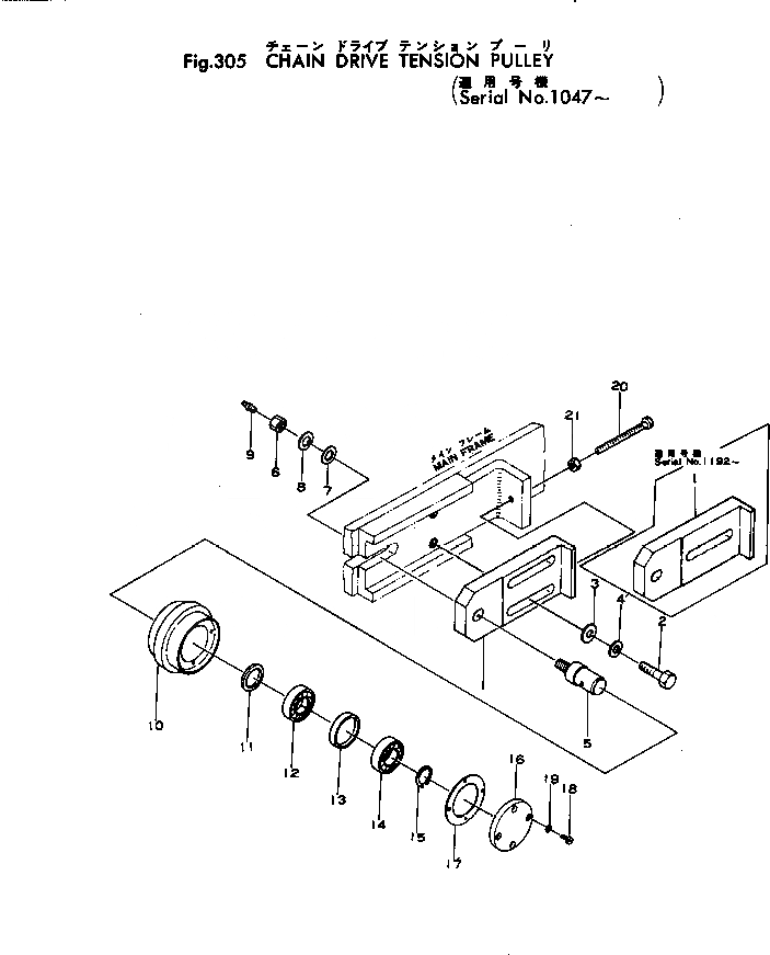
Запчасти Komatsu JV45-1 ЦЕПЬ ПРИВОД НАТЯЖНОЙ РОЛИК РОЛИК И ТОРМОЗ.

Схема запчастей Komatsu JV45-1 - ЦЕПЬ ПРИВОД НАТЯЖНОЙ РОЛИК РОЛИК И ТОРМОЗ.
FIT
1:1
100%

Артикул

Название

Примечание

Количество

1

267-40-11101

BRACKET

SN: 1192-UP

1шт.

1

267-40-11100

BRACKET

SN: 1047-1191

1шт.

2

01040-01660

BOLT

SN: 1192-UP

1шт.

2

01040-01660

BOLT

SN: 1047-1191

2шт.

3

01641-01626

WASHER

SN: 1192-UP

1шт.

3

01641-01626

WASHER

SN: 1047-1191

2шт.

4

01601-01640

WASHER

SN: 1192-UP

1шт.

4

01601-01640

WASHER

SN: 1047-1191

2шт.

5

267-40-11210

SHAFT

SN: 1047-UP

1шт.

6

61500-01613

NUT

SN: 1047-UP

1шт.

7

01641-01626

WASHER

SN: 1047-UP

1шт.

8

01601-01640

WASHER

SN: 1047-UP

1шт.

9

07020-00000

FITTING

SN: 1047-UP

1шт.

10

267-40-11220

ROLLER

SN: 1047-UP

1шт.

11

267-40-15230

SEAL

SN: 1047-UP

1шт.

12

06000-06206

BEARING

SN: 1047-UP

1шт.

13

267-40-11230

SPACER

SN: 1047-UP

1шт.

14

06000-06206

BEARING

SN: 1047-UP

1шт.

15

265-09-30000

RING

SN: 1047-UP

1шт.

16

267-40-11240

COVER

SN: 1047-UP

1шт.

17

267-20-18940

GASKET

SN: 1047-UP

1шт.

18

01220-40616

SCREW

SN: 1047-UP

4шт.

19

01601-00615

WASHER

SN: 1047-UP

4шт.

20

267-40-11250

BOLT

SN: 1047-UP

1шт.

21

01503-01008

NUT

SN: 1047-UP

1шт.

Выбрано товаров: 25