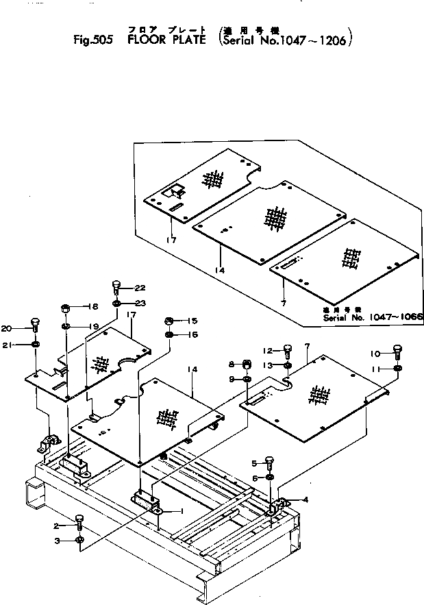
Запчасти Komatsu JV45-1 ПОЛ КАБИНЫ(№7-) РАМА И КУЗОВ

Схема запчастей Komatsu JV45-1 - ПОЛ КАБИНЫ(№7-) РАМА И КУЗОВ
FIT
1:1
100%

Артикул

Название

Примечание

Количество

1

267-10-16620

PAD

SN: 1087-@

4шт.

1

267-10-16620

PAD

SN: 1047-1086

8шт.

2

01000-00816

BOLT

SN: 1087-@

8шт.

2

01000-00816

BOLT

SN: 1047-1086

16шт.

3

01601-00820

WASHER

SN: 1087-@

8шт.

3

01601-00820

WASHER

SN: 1047-1086

16шт.

4

267-10-16630

PAD

SN: 1087-1206

6шт.

5

01000-00610

BOLT

SN: 1087-1206

12шт.

6

01601-00615

WASHER

SN: 1087-1206

12шт.

7

267-10-16102

FLOOR

SN: 1087-1206

1шт.

7

267-10-16101

FLOOR

SN: 1047-1086

1шт.

8

01500-00807

NUT

SN: 1087-@

2шт.

8

01500-00807

NUT

SN: 1047-1086

6шт.

9

01601-00820

WASHER

SN: 1087-@

2шт.

9

01601-00820

WASHER

SN: 1047-1086

6шт.

10

01000-00616

BOLT

SN: 1087-1206

4шт.

11

01601-00615

WASHER

SN: 1087-@

4шт.

12

01000-00820

BOLT

SN: 1087-1206

3шт.

13

01601-00820

WASHER

SN: 1087-1206

3шт.

14

267-10-16204

FLOOR

SN: 1087-1206

1шт.

14

267-10-16203

FLOOR

SN: 1067-1086

1шт.

14

267-10-16202

FLOOR

SN: 1047-1066

1шт.

15

01500-00807

NUT

SN: 1067-@

4шт.

15

01500-00807

NUT

SN: 1047-1066

5шт.

16

01601-00820

WASHER

SN: 1067-@

4шт.

16

01601-00820

WASHER

SN: 1047-1066

5шт.

17

267-10-16403

FLOOR

SN: 1087-1206

1шт.

17

267-10-16402

FLOOR

SN: 1067-1086

1шт.

17

267-10-16401

FLOOR

SN: 1047-1066

1шт.

18

01500-00807

NUT

SN: 1087-@

2шт.

18

01500-00807

NUT

SN: 1067-1086

6шт.

18

01500-00807

NUT

SN: 1047-1066

5шт.

19

01601-00820

WASHER

SN: 1087-@

2шт.

19

01601-00820

WASHER

SN: 1067-1086

6шт.

19

01601-00820

WASHER

SN: 1047-1066

5шт.

20

01000-00616

BOLT

SN: 1087-1206

2шт.

21

01601-00615

WASHER

SN: 1087-1206

2шт.

22

01000-00820

BOLT

SN: 1087-1206

3шт.

23

01601-00820

WASHER

SN: 1087-1206

3шт.

Выбрано товаров: 39