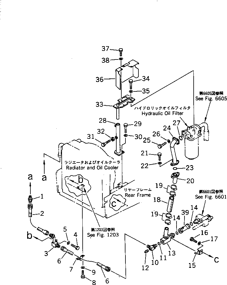
Запчасти Komatsu JV80DW-1 ГИДРОЛИНИЯ (ДЛЯ МАСЛООХЛАДИТЕЛЬ) (/)(№-) ГИДРАВЛИКА

Схема запчастей Komatsu JV80DW-1 - ГИДРОЛИНИЯ (ДЛЯ МАСЛООХЛАДИТЕЛЬ) (/)(№-) ГИДРАВЛИКА
FIT
1:1
100%

Артикул

Название

Примечание

Количество

1

2900-40-1182

NIPPLE

SN: 10001-UP

1шт.

2

07102-21204

HOSE

SN: 10001-UP

1шт.

3

278-60-15420

TUBE

SN: 10001-UP

1шт.

4

01010-51020

BOLT

SN: 10001-UP

1шт.

5

01643-31032

WASHER

SN: 10001-UP

1шт.

6

07102-21205

HOSE

SN: 10001-UP

1шт.

7

07282-14912

CLIP

SN: 10001-UP

1шт.

8

01010-51020

BOLT

SN: 10001-UP

2шт.

9

01643-31032

WASHER

SN: 10001-UP

2шт.

10

07235-51234

ELBOW

SN: 10001-UP

1шт.

11

07002-13334

O-RING

SN: 10001-UP

1шт.

12

07042-20108

PLUG

SN: 10001-UP

1шт.

13

278-60-15151

BLOCK

SN: 10024-UP

1шт.

14

07000-13038

O-RING

SN: 10001-UP

2шт.

15

278-60-15280

ANGLE

SN: 10001-UP

1шт.

16

01010-51022

BOLT

SN: 10001-UP

1шт.

17

01643-31032

WASHER

SN: 10001-UP

1шт.

18

07260-04120

HOSE

SN: 10001-UP

1шт.

19

07281-00609

CLAMP

SN: 10001-UP

4шт.

20

278-60-15361

TUBE

SN: 10024-UP

1шт.

21

01010-51235

BOLT

SN: 10001-UP

2шт.

22

01643-31232

WASHER

SN: 10001-UP

2шт.

23

07000-13045

O-RING

SN: 10001-UP

1шт.

24

278-60-15351

TUBE

SN: 10024-UP

1шт.

25

232-44-51920

BOLT

SN: 10001-UP

4шт.

26

01643-31232

WASHER

SN: 10001-UP

4шт.

27

07000-13048

O-RING

SN: 10001-UP

1шт.

28

278-60-15241

BRACKET

SN: 10024-UP

1шт.

29

01010-51235

BOLT

SN: 10024-UP

2шт.

30

01643-31232

WASHER

SN: 10024-UP

2шт.

31

01010-51235

BOLT

SN: 10001-UP

2шт.

32

01580-11210

NUT

SN: 10001-UP

2шт.

33

278-60-15290

BRACKET

SN: 10001-UP

1шт.

34

278-60-15220

BOLT

SN: 10001-UP

2шт.

35

01643-31232

WASHER

SN: 10001-UP

2шт.

36

278-60-15250

COVER

SN: 10001-UP

1шт.

37

01010-50812

BOLT

SN: 10001-UP

3шт.

38

01643-30823

WASHER

SN: 10001-UP

3шт.

39

273-60-53350

VALVE ASS'Y,CHECK

SN: 10001-UP

1шт.

|39

273-60-53360

CASE,VALVE

SN: 10001-UP

1шт.

|39

273-60-53370

VALVE ASS'Y

SN: 10001-UP

1шт.

|39

273-60-53380

SCREW

SN: 10001-UP

1шт.

|39

273-60-53390

WASHER

SN: 10001-UP

1шт.

Выбрано товаров: 43