Запчасти Komatsu JV80DW-1 ЭЛЕКТРИКА (БЛОК РЕЛЕ¤ ЛЕВ.)(№-) КОМПОНЕНТЫ ДВИГАТЕЛЯ И ЭЛЕКТРИКА

Схема запчастей Komatsu JV80DW-1 - ЭЛЕКТРИКА (БЛОК РЕЛЕ¤ ЛЕВ.)(№-) КОМПОНЕНТЫ ДВИГАТЕЛЯ И ЭЛЕКТРИКА
FIT
1:1
100%

Артикул

Название

Примечание

Количество

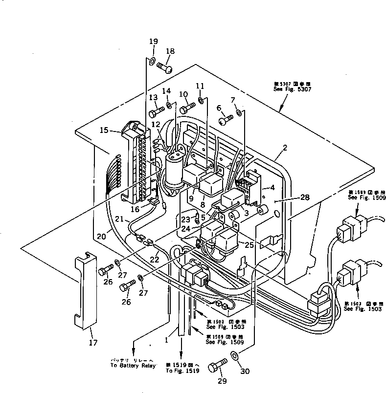
1

278-06-11610

HARNESS

SN: 10001-10002

1шт.

2

278-06-11680

HARNESS

SN: 10001-@

1шт.

3

273-06-12520

RELAY,TRAVEL MOTOR

SN: 10001-@

1шт.

4

273-06-12560

SOCKET

SN: 10001-@

1шт.

5

273-06-12570

SPRING

SN: 10001-@

1шт.

6

01220-40416

SCREW

SN: 10001-@

2шт.

7

01641-20405

WASHER

SN: 10001-@

2шт.

8

569-06-61960

RELAY,STARTING MOTOR

SN: 10001-@

1шт.

9

08163-02400

RELAY,HORN

SN: 10001-@

1шт.

10

01010-50612

BOLT

SN: 10001-@

2шт.

11

01641-20608

WASHER

SN: 10001-@

2шт.

12

08077-22400

FLASHER,RELAY

SN: 10001-@

1шт.

13

01010-50612

BOLT

SN: 10001-@

1шт.

14

01641-20608

WASHER

SN: 10001-@

1шт.

15

283-06-16110

BOX,FUSE

SN: 10001-@

1шт.

16

262-06-21650

FUSE¤ 5A

SN: 10001-@

6шт.

|16

283-06-16190

FUSE¤ 10A

SN: 10001-@

1шт.

|16

23B-06-12510

FUSE¤ 15A

SN: 10001-@

2шт.

|16

23B-06-12520

FUSE¤ 20A

SN: 10001-@

6шт.

17

283-06-16120

COVER,FUSE

SN: 10001-@

1шт.

18

01220-40620

SCREW

SN: 10001-@

2шт.

19

01641-20608

WASHER

SN: 10001-@

2шт.

20

278-06-11220

HARNESS

SN: 10001-10002

1шт.

21

278-06-11720

HARNESS

SN: 10001-@

1шт.

22

278-06-11750

HARNESS

SN: 10001-@

1шт.

23

278-06-11690

CABLE

SN: 10001-@

1шт.

24

569-06-61960

RELAY,ENGINE STOP

SN: 10001-@

1шт.

25

569-06-61960

RELAY,PARKING

SN: 10001-@

1шт.

26

01010-50612

BOLT

SN: 10001-@

3шт.

27

01641-20608

WASHER

SN: 10001-@

3шт.

28

278-06-15250

PANEL,L.H.

SN: 10001-@

1шт.

29

01010-51016

BOLT

SN: 10001-@

2шт.

30

01643-31032

WASHER

SN: 10001-@

2шт.

Выбрано товаров: 33