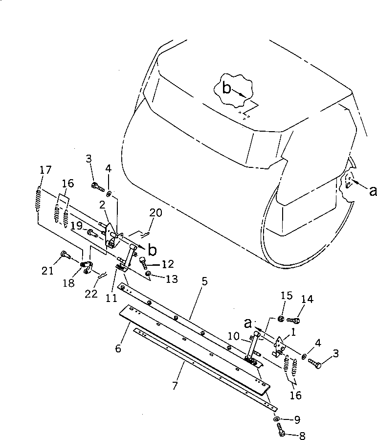
Запчасти Komatsu JV80DW-1 ПЕРЕДН. СКРЕППЕР (/)(№-) КОЛЕСА И ТОРМОЗ.

Схема запчастей Komatsu JV80DW-1 - ПЕРЕДН. СКРЕППЕР (/)(№-) КОЛЕСА И ТОРМОЗ.
FIT
1:1
100%

Артикул

Название

Примечание

Количество

1

278-70-13161

BRACKET,L.H.

SN: 10024-UP

1шт.

2

278-70-13171

BRACKET,R.H.

SN: 10024-UP

1шт.

3

01010-51035

BOLT

SN: 10001-UP

5шт.

4

01643-31032

WASHER

SN: 10001-UP

5шт.

5

278-70-13131

LEVER

SN: 10024-UP

1шт.

6

278-70-13280

PLATE,RUBBER

SN: 10001-UP

1шт.

7

278-70-13630

PLATE

SN: 10024-UP

1шт.

8

01010-51030

BOLT

SN: 10001-UP

6шт.

9

01643-31032

WASHER

SN: 10001-UP

6шт.

10

278-70-13620

LEVER

SN: 10024-UP

1шт.

11

278-70-13610

LEVER

SN: 10024-UP

1шт.

12

01010-51045

BOLT

SN: 10024-UP

4шт.

13

01643-31032

WASHER

SN: 10024-UP

4шт.

14

01016-51035

BOLT

SN: 10001-UP

2шт.

15

01580-11008

NUT

SN: 10001-UP

2шт.

16

233-32-11451

SPRING

SN: 10003-UP

4шт.

17

232-43-42330

SPRING

SN: 10001-UP

1шт.

18

278-70-13220

LEVER

SN: 10001-UP

1шт.

19

04205-31658

PIN

SN: 10001-UP

1шт.

20

04052-11664

PIN,SNAP

SN: 10001-UP

1шт.

21

04205-31232

PIN

SN: 10001-UP

1шт.

22

04052-11253

PIN,SNAP

SN: 10001-UP

1шт.

Выбрано товаров: 22