Запчасти Komatsu JV80DW-1 ЗАДН. СКРЕППЕР (/) КОЛЕСА И ТОРМОЗ.

Схема запчастей Komatsu JV80DW-1 - ЗАДН. СКРЕППЕР (/) КОЛЕСА И ТОРМОЗ.
FIT
1:1
100%

Артикул

Название

Примечание

Количество

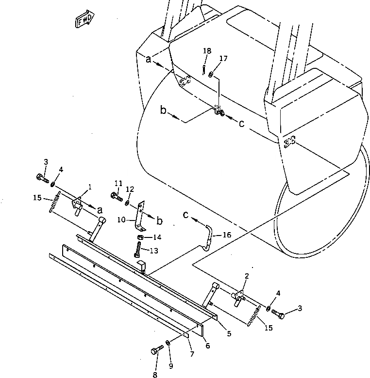
1

278-70-13190

BRACKET,L.H.

SN: 10001-UP

1шт.

2

278-70-13180

BRACKET,R.H.

SN: 10001-UP

1шт.

3

01010-51035

BOLT

SN: 10001-UP

4шт.

4

01643-31032

WASHER

SN: 10001-UP

4шт.

5

278-70-13120

LEVER

SN: 10001-UP

1шт.

6

278-70-13280

PLATE,RUBBER

SN: 10001-UP

1шт.

7

278-70-13250

PLATE

SN: 10001-UP

1шт.

8

01010-51030

BOLT

SN: 10001-UP

6шт.

9

01643-31032

WASHER

SN: 10001-UP

6шт.

10

278-70-13480

PLATE

SN: 10001-UP

1шт.

11

01010-51230

BOLT

SN: 10001-UP

2шт.

12

01643-31232

WASHER

SN: 10001-UP

2шт.

13

01016-51060

BOLT

SN: 10003-UP

1шт.

|13

0

BOLT

SN: 10001-10002

1шт.

14

01580-11008

NUT

SN: 10001-UP

1шт.

15

233-32-11451

SPRING

SN: 10001-UP

2шт.

16

278-70-13230

LEVER

SN: 10001-UP

1шт.

17

01641-20812

WASHER

SN: 10001-UP

1шт.

18

04052-10833

PIN,SNAP

SN: 10001-UP

1шт.

Выбрано товаров: 19