Запчасти Komatsu JV80DW-1 ВЫПУСКН. СИСТЕМА КОМПОНЕНТЫ ДВИГАТЕЛЯ И ЭЛЕКТРИКА

Схема запчастей Komatsu JV80DW-1 - ВЫПУСКН. СИСТЕМА КОМПОНЕНТЫ ДВИГАТЕЛЯ И ЭЛЕКТРИКА
FIT
1:1
100%

Артикул

Название

Примечание

Количество

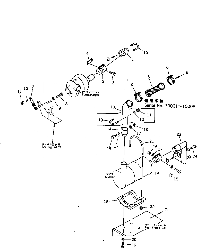
1

278-01-14110

PIPE

SN: 10001-UP

1шт.

2

6206-11-5910

CLAMP

SN: 10001-UP

1шт.

3

01435-01235

BOLT

SN: 10001-UP

2шт.

4

6206-11-5850

PLATE

SN: 10001-UP

1шт.

5

278-01-14130

BELLOWS

SN: 10001-UP

1шт.

6

278-01-14170

COUPLING

SN: 10001-UP

2шт.

7

278-01-14180

PLATE

SN: 10001-UP

1шт.

8

01010-51025

BOLT

SN: 10001-UP

2шт.

9

01643-31032

WASHER

SN: 10001-UP

2шт.

10

283-06-17320

CLIP

SN: 10009-UP

1шт.

|10

283-06-17320

CLIP

SN: 10001-10008

2шт.

11

01582-11008

NUT

SN: 10009-UP

2шт.

|11

01582-11008

NUT

SN: 10001-10008

4шт.

12

01643-31032

WASHER

SN: 10009-UP

2шт.

|12

01643-31032

WASHER

SN: 10001-10008

4шт.

13

278-01-14140

PIPE

SN: 10001-UP

1шт.

14

6206-11-5910

CLAMP

SN: 10001-UP

2шт.

15

01010-51235

BOLT

SN: 10001-UP

4шт.

16

01580-11210

NUT

SN: 10001-UP

4шт.

17

01643-31232

WASHER

SN: 10001-UP

8шт.

18

278-01-14150

BRACKET,MUFFLER

SN: 10001-UP

1шт.

19

01010-51025

BOLT

SN: 10001-UP

4шт.

20

01643-31032

WASHER

SN: 10001-UP

4шт.

21

6206-11-5980

U-BOLT

SN: 10001-UP

2шт.

22

01584-00806

NUT

SN: 10001-UP

4шт.

23

278-01-14160

PIPE,EXHAUST

SN: 10001-UP

1шт.

24

01010-51025

BOLT

SN: 10001-UP

1шт.

25

232-43-58360

WASHER

SN: 10001-UP

1шт.

Выбрано товаров: 28