Запчасти Komatsu JV80DW-1 РАДИАТОР И МАСЛООХЛАДИТЕЛЬ КОМПОНЕНТЫ ДВИГАТЕЛЯ И ЭЛЕКТРИКА

Схема запчастей Komatsu JV80DW-1 - РАДИАТОР И МАСЛООХЛАДИТЕЛЬ КОМПОНЕНТЫ ДВИГАТЕЛЯ И ЭЛЕКТРИКА
FIT
1:1
100%

Артикул

Название

Примечание

Количество

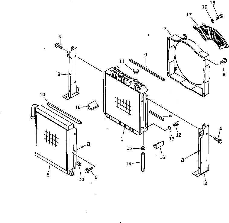
|1

278-03-11100

RADIATOR ASS'Y,WITH OIL COOLER

SN: 10001-UP

1шт.

1

203-03-56120

RADIATOR ASS'Y

SN: 10001-UP

1шт.

2

278-03-11110

SUPPORT

SN: 10001-UP

1шт.

3

278-03-11120

SUPPORT

SN: 10001-UP

1шт.

4

01435-20816

BOLT

SN: 10001-UP

8шт.

5

278-03-11130

OIL COOLER ASS'Y

SN: 10001-UP

1шт.

6

01435-20816

BOLT

SN: 10001-UP

6шт.

7

203-03-56171

SHROUD

SN: 10001-UP

1шт.

8

01435-20816

BOLT

SN: 10001-UP

4шт.

9

203-03-41530

SHEET

SN: 10001-UP

2шт.

10

278-03-11140

SHEET

SN: 10001-UP

2шт.

11

201-03-51310

CAP

SN: 10001-UP

1шт.

12

205-03-62660

PLUG

SN: 10001-UP

1шт.

13

07000-01007

O-RING

SN: 10001-UP

1шт.

14

203-03-56350

HOSE

SN: 10001-UP

1шт.

15

20Y-03-11330

CLIP

SN: 10001-UP

1шт.

16

203-03-56230

SHEET

SN: 10001-UP

2шт.

17

203-03-56320

GUARD

SN: 10001-UP

1шт.

18

01010-51020

BOLT

SN: 10001-UP

3шт.

19

01643-31032

WASHER

SN: 10001-UP

3шт.

Выбрано товаров: 20