Запчасти Komatsu JV80DW-1 КАПОТ(№-) РАМА И КУЗОВ

Схема запчастей Komatsu JV80DW-1 - КАПОТ(№-) РАМА И КУЗОВ
FIT
1:1
100%

Артикул

Название

Примечание

Количество

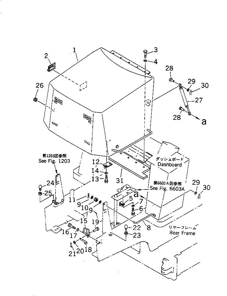
1

278-54-12511

HOOD,ENGINE

SN: 10024-UP

1шт.

2

26A-54-13360

LATCH

SN: 10001-UP

1шт.

3

01010-51020

BOLT

SN: 10001-UP

5шт.

4

01643-31032

WASHER

SN: 10001-UP

5шт.

5

278-54-12520

BRACKET

SN: 10001-UP

1шт.

6

01010-50812

BOLT

SN: 10001-UP

1шт.

7

01643-30823

WASHER

SN: 10001-UP

1шт.

8

278-54-12440

BAR,L.H.

SN: 10001-UP

1шт.

9

01643-31232

WASHER

SN: 10003-UP

2шт.

10

08037-01008

GROMMET

SN: 10003-UP

1шт.

11

04050-13022

PIN,COTTER

SN: 10001-UP

1шт.

12

278-54-12460

CATCH

SN: 10001-UP

1шт.

13

01010-51025

BOLT

SN: 10001-UP

2шт.

14

01643-31032

WASHER

SN: 10001-UP

2шт.

15

278-54-12450

LOCK ASS'Y

SN: 10001-UP

1шт.

16

01010-51020

BOLT

SN: 10001-UP

2шт.

17

01643-31032

WASHER

SN: 10001-UP

2шт.

18

278-54-12470

LEVER

SN: 10001-UP

1шт.

19

04205-10522

PIN

SN: 10001-UP

1шт.

20

01641-20508

WASHER

SN: 10001-UP

1шт.

21

04050-11210

PIN,COTTER

SN: 10001-UP

1шт.

22

21K-54-11310

STOPPER

SN: 10001-UP

1шт.

23

01580-11210

NUT

SN: 10001-UP

1шт.

24

20T-54-43290

STOPPER

SN: 10024-UP

1шт.

25

01580-11210

NUT

SN: 10001-UP

1шт.

26

09415-02512

CAP

SN: 10024-UP

2шт.

27

278-54-11570

GAS,SPRING

SN: 10001-UP

2шт.

28

04205-10835

PIN

SN: 10001-UP

4шт.

29

01641-20812

WASHER

SN: 10001-UP

4шт.

30

04052-10833

PIN,SNAP

SN: 10001-UP

4шт.

31

278-54-12570

SEAT

SN: 10009-UP

1шт.

Выбрано товаров: 31