Запчасти Komatsu JV80DW-1 ЦЕНТР. ПАЛЕЦ(№-) РАМА И КУЗОВ

Схема запчастей Komatsu JV80DW-1 - ЦЕНТР. ПАЛЕЦ(№-) РАМА И КУЗОВ
FIT
1:1
100%

Артикул

Название

Примечание

Количество

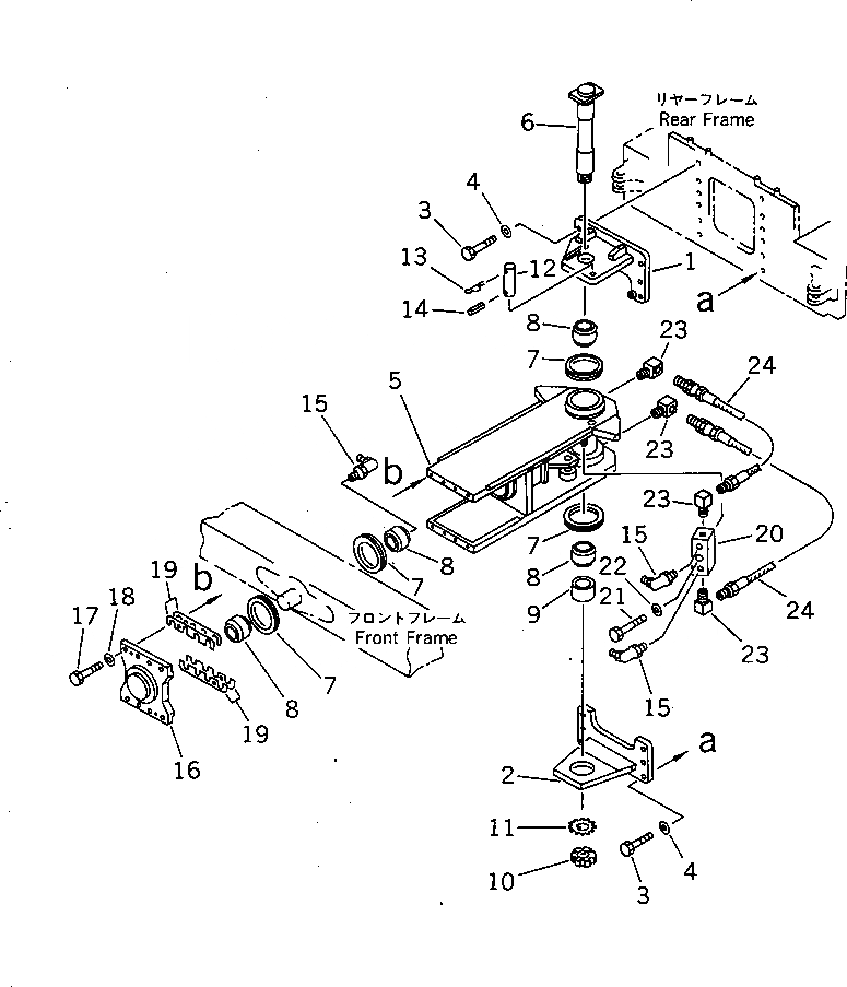
1

278-46-11110

BRACKET

SN: 10001-UP

1шт.

2

278-46-11120

BRACKET

SN: 10001-UP

1шт.

3

01010-52465

BOLT

SN: 10001-UP

12шт.

4

01643-32460

WASHER

SN: 10001-UP

12шт.

5

278-46-11161

GUIDE,PLATE

SN: 10003-UP

1шт.

6

278-46-11130

PIN

SN: 10001-UP

1шт.

7

273-46-11230

RING

SN: 10001-UP

4шт.

8

569-63-22880

BUSHING

SN: 10001-UP

4шт.

9

273-46-21170

SPACER

SN: 10001-UP

1шт.

10

01530-07616

NUT

SN: 10001-UP

1шт.

11

01658-27623

WASHER

SN: 10001-UP

1шт.

12

273-46-12211

PIN

SN: 10001-UP

1шт.

13

236-46-13450

PIN,SNAP

SN: 10001-UP

1шт.

14

04025-00650

PIN,SPRING

SN: 10001-UP

1шт.

15

07020-00900

FITTING,GREASE

SN: 10001-UP

3шт.

16

278-46-11140

COVER

SN: 10001-UP

1шт.

17

01010-52060

BOLT

SN: 10001-UP

8шт.

18

01643-32060

WASHER

SN: 10001-UP

8шт.

19

278-46-00010

SHIM ASS'Y

SN: 10001-UP

1шт.

|19

0

SHIM¤ 1.0MM

SN: 10001-UP

10шт.

20

278-46-11310

BLOCK

SN: 10001-UP

1шт.

21

01010-51040

BOLT

SN: 10001-UP

1шт.

22

01643-31032

WASHER

SN: 10001-UP

1шт.

23

278-46-11390

ELBOW

SN: 10003-UP

4шт.

24

278-46-11380

TUBE

SN: 10003-UP

2шт.

Выбрано товаров: 25