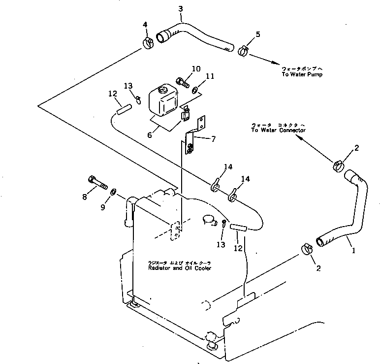
Запчасти Komatsu JV80DW-1 СИСТЕМА ТРУБ РАДИАТОРА КОМПОНЕНТЫ ДВИГАТЕЛЯ И ЭЛЕКТРИКА

Схема запчастей Komatsu JV80DW-1 - СИСТЕМА ТРУБ РАДИАТОРА КОМПОНЕНТЫ ДВИГАТЕЛЯ И ЭЛЕКТРИКА
FIT
1:1
100%

Артикул

Название

Примечание

Количество

1

203-03-56190

HOSE

SN: 10001-UP

1шт.

2

07281-00609

CLAMP

SN: 10001-UP

2шт.

3

203-03-56180

HOSE

SN: 10001-UP

1шт.

4

07281-00609

CLAMP

SN: 10001-UP

1шт.

5

07281-00489

CLAMP

SN: 10001-UP

1шт.

6

278-03-13130

TANK ASS'Y,RESERVE

SN: 10001-UP

1шт.

7

278-03-13110

PLATE,TANK

SN: 10001-UP

1шт.

8

01010-51025

BOLT

SN: 10001-UP

2шт.

9

01643-31032

WASHER

SN: 10001-UP

2шт.

10

01010-50610

BOLT

SN: 10001-UP

2шт.

11

01643-30623

WASHER

SN: 10001-UP

2шт.

12

278-03-13120

HOSE

SN: 10001-UP

1шт.

13

206-03-43340

CLIP

SN: 10001-UP

2шт.

14

08034-00310

BAND

SN: 10001-UP

3шт.

Выбрано товаров: 14