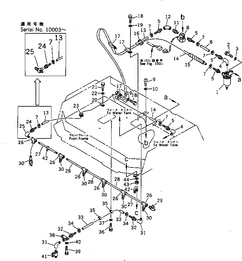
Запчасти Komatsu JV80DW-1 РАЗБРЫЗГИВАНИЕ ВОДЫ ТРУБЫ (ПЕРЕДН.) ГИДРАВЛИКА

Схема запчастей Komatsu JV80DW-1 - РАЗБРЫЗГИВАНИЕ ВОДЫ ТРУБЫ (ПЕРЕДН.) ГИДРАВЛИКА
FIT
1:1
100%

Артикул

Название

Примечание

Количество

1

278-80-15100

FILTER ASS'Y,WATER (SEE FIG.6121)

SN: 10001-UP

1шт.

2

01010-51030

BOLT

SN: 10001-UP

2шт.

3

01643-31032

WASHER

SN: 10001-UP

2шт.

4

07323-90300

ELBOW

SN: 10001-UP

2шт.

5

278-80-12150

NIPPLE

SN: 10001-UP

5шт.

6

278-80-12540

HOSE

SN: 10001-UP

1шт.

7

07281-10197

CLAMP

SN: 10001-UP

6шт.

8

278-06-11480

VALVE ASS'Y,SOLENOID¤ (MODIFIED PARTS)

SN: 10001-UP

1шт.

9

01220-40512

SCREW

SN: 10001-UP

2шт.

10

01641-20508

WASHER

SN: 10001-UP

2шт.

11

07325-20300

NIPPLE

SN: 10001-UP

1шт.

12

07323-80300

ELBOW

SN: 10001-UP

1шт.

13

278-80-12580

HOSE

SN: 10001-UP

1шт.

14

278-80-12580

HOSE

SN: 10024-UP

1шт.

|14

278-80-12590

HOSE

SN: 10001-10023

1шт.

15

238-60-41370

TUBE

SN: 10001-UP

1шт.

16

08034-00823

BAND

SN: 10001-UP

1шт.

17

04435-52110

CLIP

SN: 10001-UP

3шт.

18

01010-51016

BOLT

SN: 10001-UP

3шт.

19

01643-31032

WASHER

SN: 10001-UP

3шт.

20

04434-51810

CLIP

SN: 10001-UP

1шт.

21

01010-51016

BOLT

SN: 10001-UP

1шт.

22

01643-31032

WASHER

SN: 10001-UP

1шт.

23

08037-03620

GROMMET

SN: 10001-UP

1шт.

24

278-80-12440

JOINT

SN: 10001-UP

1шт.

25

278-80-12841

VALVE,CHECK

SN: 10003-UP

1шт.

|25

07323-90200

ELBOW

SN: 10001-10002

1шт.

26

278-80-12460

TEE,COUPLING

SN: 10001-UP

6шт.

27

278-80-12810

NIPPLE

SN: 10001-UP

2шт.

28

278-80-12470

NIPPLE

SN: 10001-UP

3шт.

29

278-80-12690

VALVE

SN: 10001-UP

1шт.

30

278-80-12900

NOZZLE ASS'Y,WATER

SN: 10001-UP

6шт.

31

07323-90600

ELBOW

SN: 10001-UP

2шт.

32

278-80-12410

JOINT

SN: 10001-UP

2шт.

33

278-80-12530

HOSE

SN: 10001-UP

1шт.

34

07281-10259

CLAMP

SN: 10001-UP

2шт.

35

04434-52110

CLIP

SN: 10001-UP

2шт.

36

01010-51016

BOLT

SN: 10001-UP

2шт.

37

01643-31032

WASHER

SN: 10001-UP

2шт.

38

278-80-12480

JOINT

SN: 10001-UP

1шт.

39

01010-51016

BOLT

SN: 10001-UP

2шт.

40

01643-31032

WASHER

SN: 10001-UP

2шт.

41

262-71-51880

VALVE,DRAIN

SN: 10001-UP

1шт.

42

278-80-12640

BOLT

SN: 10001-UP

3шт.

43

01580-10605

NUT

SN: 10001-UP

6шт.

44

01643-30623

WASHER

SN: 10001-UP

6шт.

Выбрано товаров: 0