Запчасти Komatsu JV80DW-1 ВОДН. БАК КРЕПЛЕНИЕ (ЗАДН.) ГИДРАВЛИКА

Схема запчастей Komatsu JV80DW-1 - ВОДН. БАК КРЕПЛЕНИЕ (ЗАДН.) ГИДРАВЛИКА
FIT
1:1
100%

Артикул

Название

Примечание

Количество

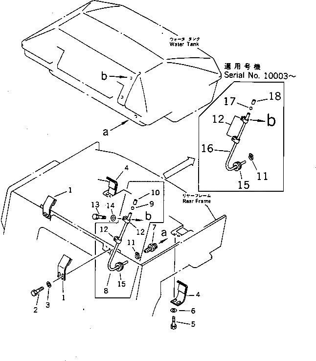
1

278-80-12680

BRACKET

SN: 10001-UP

2шт.

2

01010-51014

BOLT

SN: 10001-UP

4шт.

3

01643-31032

WASHER

SN: 10001-UP

4шт.

4

278-80-12660

BRACKET

SN: 10001-UP

2шт.

5

01010-51025

BOLT

SN: 10001-UP

4шт.

6

01643-31032

WASHER

SN: 10001-UP

4шт.

7

278-80-12430

JOINT

SN: 10001-UP

1шт.

8

278-80-12610

HOSE

SN: 10001-10002

1шт.

9

277-54-11190

FLOAT

SN: 10001-10002

1шт.

10

278-80-12620

HOSE

SN: 10001-10002

1шт.

11

07281-10197

CLAMP

SN: 10001-UP

1шт.

12

04434-51508

CLIP

SN: 10001-UP

2шт.

13

01010-50812

BOLT

SN: 10001-UP

2шт.

14

01643-30823

WASHER

SN: 10001-UP

2шт.

15

08037-03620

GROMMET

SN: 10001-UP

1шт.

|16

278-80-12600

HOSE ASS'Y

SN: 10003-UP

1шт.

16

278-80-12612

HOSE

SN: 10003-UP

1шт.

17

277-54-11190

FLOAT

SN: 10003-UP

1шт.

18

278-80-12620

HOSE

SN: 10003-UP

1шт.

Выбрано товаров: 0