Запчасти Komatsu JV80DW-1 РАЗБРЫЗГИВАНИЕ ВОДЫ ТРУБЫ (ЗАДН.) ГИДРАВЛИКА

Схема запчастей Komatsu JV80DW-1 - РАЗБРЫЗГИВАНИЕ ВОДЫ ТРУБЫ (ЗАДН.) ГИДРАВЛИКА
FIT
1:1
100%

Артикул

Название

Примечание

Количество

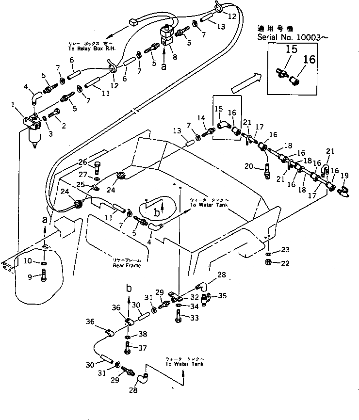
1

278-80-15100

FILTER ASS'Y,WATER (SEE FIG.6121)

SN: 10001-UP

1шт.

2

01010-51030

BOLT

SN: 10001-UP

2шт.

3

01643-31032

WASHER

SN: 10001-UP

2шт.

4

07323-90300

ELBOW

SN: 10001-UP

2шт.

5

278-80-12150

NIPPLE

SN: 10001-UP

5шт.

6

278-80-12550

HOSE

SN: 10001-UP

1шт.

7

07281-10197

CLAMP

SN: 10001-UP

6шт.

8

278-06-11710

VALVE ASS'Y,SOLENOID¤ (MODIFIED PARTS)

SN: 10001-UP

1шт.

9

01220-40512

SCREW

SN: 10001-UP

2шт.

10

01641-20508

WASHER

SN: 10001-UP

2шт.

11

278-80-12560

HOSE

SN: 10001-UP

1шт.

12

08034-00823

BAND

SN: 10001-UP

2шт.

13

278-80-12570

HOSE

SN: 10001-UP

1шт.

14

278-80-12440

JOINT

SN: 10001-UP

1шт.

15

278-80-12841

VALVE,CHECK

SN: 10003-UP

1шт.

|15

07323-90200

ELBOW

SN: 10001-10002

1шт.

16

278-80-12460

TEE,COUPLING

SN: 10001-UP

6шт.

17

278-80-12470

NIPPLE

SN: 10003-UP

2шт.

|17

278-80-12810

NIPPLE

SN: 10001-10002

2шт.

18

278-80-12470

NIPPLE

SN: 10001-UP

3шт.

19

278-80-12690

VALVE

SN: 10001-UP

1шт.

20

278-80-12900

NOZZLE ASS'Y,WATER

SN: 10001-UP

6шт.

21

278-80-12640

BOLT

SN: 10001-UP

3шт.

22

01580-10605

NUT

SN: 10001-UP

6шт.

23

01643-30623

WASHER

SN: 10001-UP

6шт.

24

08037-03620

GROMMET

SN: 10001-UP

2шт.

25

04434-51810

CLIP

SN: 10001-UP

1шт.

26

01010-51016

BOLT

SN: 10001-UP

1шт.

27

01643-31032

WASHER

SN: 10001-UP

1шт.

28

07323-90600

ELBOW

SN: 10001-UP

2шт.

29

278-80-12410

JOINT

SN: 10001-UP

2шт.

30

278-80-12520

HOSE

SN: 10001-UP

1шт.

31

07281-10259

CLAMP

SN: 10001-UP

2шт.

32

278-80-12480

JOINT

SN: 10001-UP

1шт.

33

01010-51016

BOLT

SN: 10001-UP

2шт.

34

01643-31032

WASHER

SN: 10001-UP

2шт.

35

262-71-51880

VALVE,DRAIN

SN: 10001-UP

1шт.

36

04434-52110

CLIP

SN: 10001-UP

2шт.

37

01010-51016

BOLT

SN: 10001-UP

2шт.

38

01643-31032

WASHER

SN: 10001-UP

2шт.

Выбрано товаров: 0