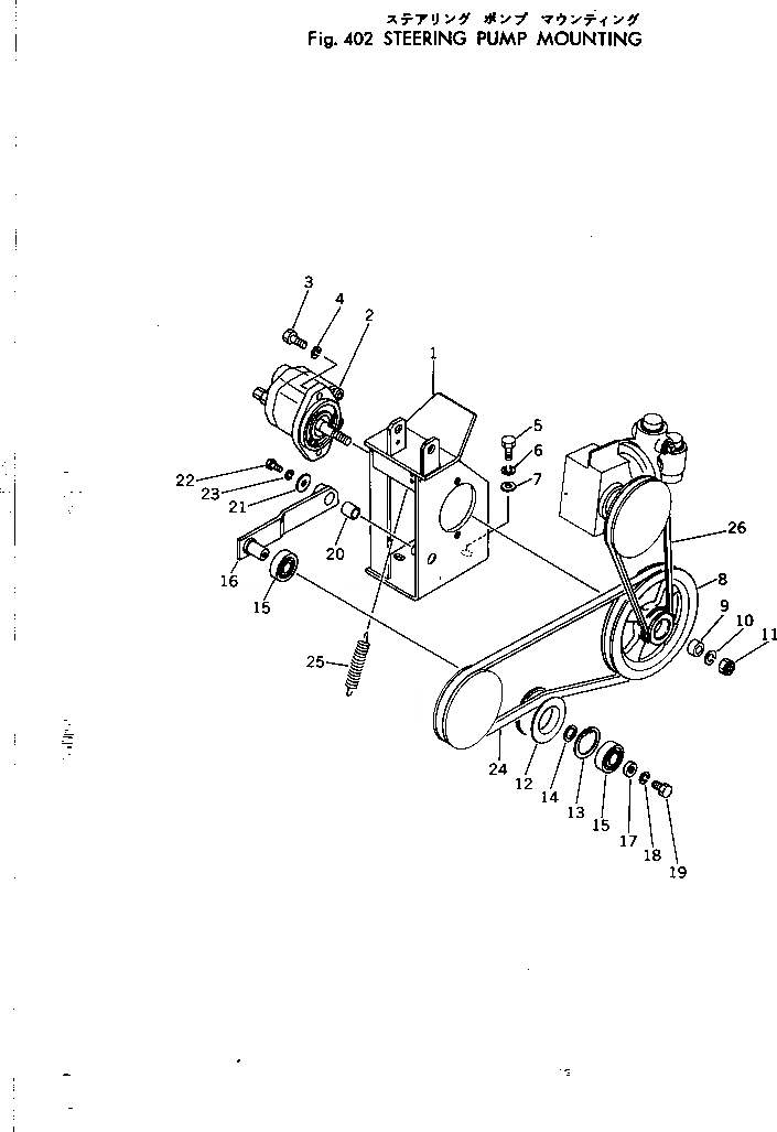
Запчасти Komatsu JW33-1 НАСОС РУЛЕВ. УПРАВЛ-Я КРЕПЛЕНИЕ РУЛЕВ. УПРАВЛЕНИЕ И СИСТЕМА УПРАВЛЕНИЯS

Схема запчастей Komatsu JW33-1 - НАСОС РУЛЕВ. УПРАВЛ-Я КРЕПЛЕНИЕ РУЛЕВ. УПРАВЛЕНИЕ И СИСТЕМА УПРАВЛЕНИЯS
FIT
1:1
100%

Артикул

Название

Примечание

Количество

1

257-60-13100

BRACKET

SN: 1001-UP

1шт.

2

2691-6-13201

PUMP ASS'Y

SN: 1001-UP

1шт.

3

01010-31025

BOLT

SN: 1001-UP

2шт.

4

01602-01030

WASHER

SN: 1001-UP

2шт.

5

01010-31025

BOLT

SN: 1001-UP

4шт.

6

01602-01030

WASHER

SN: 1001-UP

4шт.

7

268-30-13620

WASHER

SN: 1001-UP

4шт.

8

2691-6-13412

PULLEY

SN: 1001-UP

1шт.

9

2691-6-13421

WASHER

SN: 1001-UP

1шт.

10

01602-01236

WASHER

SN: 1001-UP

1шт.

11

2691-6-13431

NUT

SN: 1001-UP

1шт.

12

2691-5-15210

PULLEY

SN: 1001-UP

1шт.

13

04065-04718

RING

SN: 1001-UP

1шт.

14

268-20-19820

SPACER

SN: 1001-UP

1шт.

15

06009-06204

BEARING

SN: 1001-UP

2шт.

16

257-60-13500

ARM

SN: 1001-UP

1шт.

17

268-30-13620

WASHER

SN: 1001-UP

1шт.

18

01602-01030

WASHER

SN: 1001-UP

1шт.

19

01010-31020

BOLT

SN: 1001-UP

1шт.

20

265-30-24420

BUSHING

SN: 1001-UP

1шт.

21

266-91-08000

WASHER

SN: 1001-UP

1шт.

22

01010-30816

BOLT

SN: 1001-UP

1шт.

23

01602-00825

WASHER

SN: 1001-UP

1шт.

24

265-99-20051

V-BELT

SN: 1001-UP

1шт.

25

2691-6-13620

SPRING

SN: 1001-UP

1шт.

26

265-99-11131

V-BELT

SN: 1001-UP

1шт.

Выбрано товаров: 26