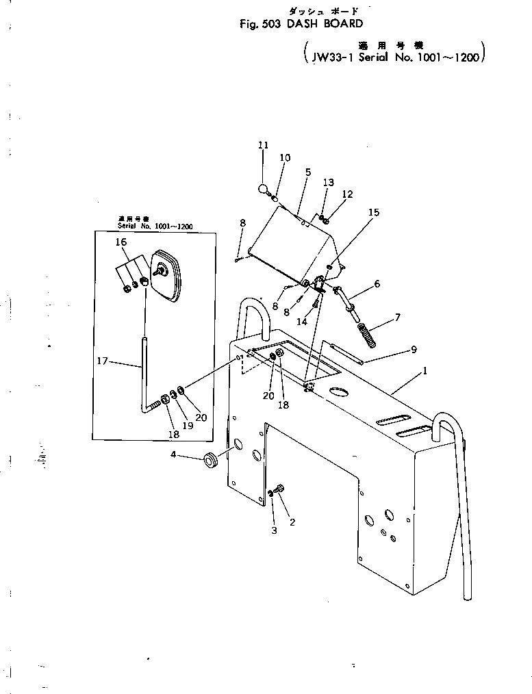
Запчасти Komatsu JW33-1 ПРИБОРНАЯ ПАНЕЛЬ(№-) РАМА И ЧАСТИ КОРПУСА

Схема запчастей Komatsu JW33-1 - ПРИБОРНАЯ ПАНЕЛЬ(№-) РАМА И ЧАСТИ КОРПУСА
FIT
1:1
100%

Артикул

Название

Примечание

Количество

1

257-10-16100

DASHBOARD

SN: 1001-1200

1шт.

2

01010-31016

BOLT

SN: 1001-@

8шт.

3

01602-01030

WASHER

SN: 1001-@

8шт.

4

265-82-24050

GROMMET

SN: 1001-1200

5шт.

5

257-10-16700

PANEL

SN: 1001-@

1шт.

6

257-10-16800

PIN

SN: 1001-@

2шт.

7

257-30-15320

SPRING

SN: 1001-@

2шт.

8

266-60-44321

PIN

SN: 1001-@

4шт.

9

257-10-16910

PIN

SN: 1001-@

1шт.

10

257-10-16920

SPACER

SN: 1001-@

1шт.

11

266-96-30010

KNOB

SN: 1001-@

1шт.

12

01010-30835

BOLT

SN: 1001-@

1шт.

13

01602-00825

WASHER

SN: 1001-@

1шт.

14

01016-30830

BOLT

SN: 1001-@

2шт.

15

01580-00806

NUT

SN: 1001-@

2шт.

16

257-10-17630

MIRROR

SN: 1001-1200

1шт.

17

257-10-17620

STAY

SN: 1001-@

1шт.

18

01580-01210

NUT

SN: 1001-@

2шт.

19

01602-01236

WASHER

SN: 1001-@

1шт.

20

266-91-12000

WASHER

SN: 1001-1200

2шт.

Выбрано товаров: 20