Запчасти Komatsu JW33-2 СИДЕНЬЕ ОПЕРАТОРА РУЛЕВ. УПРАВЛЕНИЕ И СИСТЕМА УПРАВЛЕНИЯS

Схема запчастей Komatsu JW33-2 - СИДЕНЬЕ ОПЕРАТОРА РУЛЕВ. УПРАВЛЕНИЕ И СИСТЕМА УПРАВЛЕНИЯS
FIT
1:1
100%

Артикул

Название

Примечание

Количество

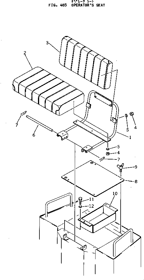
1

257-60-15201

BASE,SADDLE

SN: 1001-UP

1шт.

2

257-60-15410

SEAT,BOTTOM

SN: 1001-UP

1шт.

3

257-60-15510

SEAT,BACK

SN: 1001-UP

1шт.

4

01580-01008

NUT

SN: 1001-UP

9шт.

5

01602-01030

WASHER,SPRING

SN: 1001-UP

9шт.

6

257-10-16910

PIN

SN: 1001-UP

1шт.

7

266-60-44321

PIN,LOCK

SN: 1001-UP

2шт.

8

257-60-15712

COVER,BATTERY

SN: 1201-UP

1шт.

9

01434-00820

BOLT,WING

SN: 1001-UP

4шт.

10

257-60-15811

BOX,TOOL

SN: 1201-UP

1шт.

11

01010-30820

BOLT

SN: 1201-UP

2шт.

12

01602-00825

WASHER,SPRING

SN: 1201-UP

2шт.

Выбрано товаров: 12