Запчасти Komatsu 35D ТОПЛИВН. МОНИТОРING СИСТЕМА ДВИГАТЕЛЬ, АКСЕССУАРЫ И ЭЛЕКТРИЧ. СИСТЕМА

Схема запчастей Komatsu 35D - ТОПЛИВН. МОНИТОРING СИСТЕМА ДВИГАТЕЛЬ, АКСЕССУАРЫ И ЭЛЕКТРИЧ. СИСТЕМА
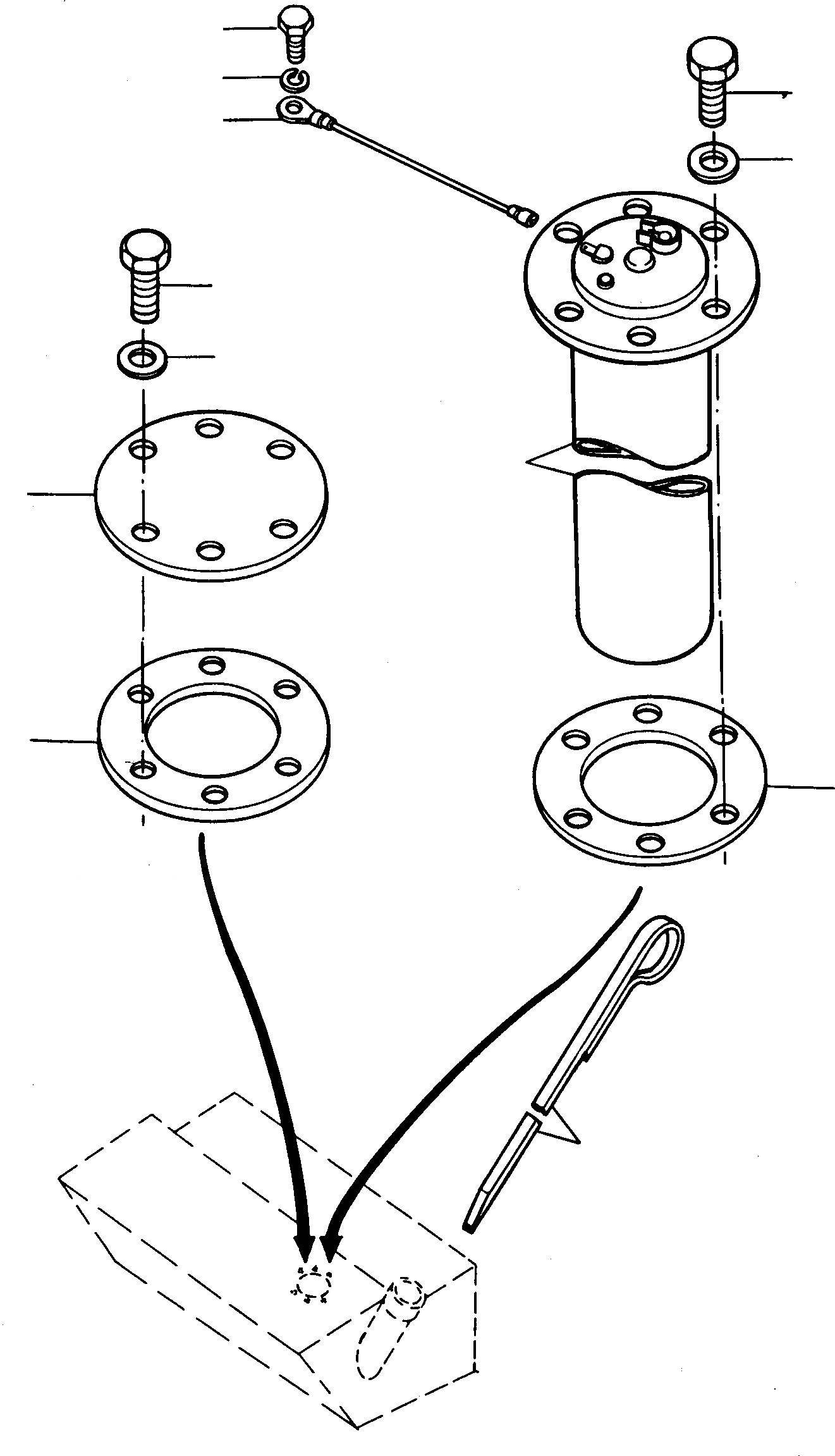
11
12
8
10
9
4
5
6
2
3
7
1
FIT
1:1
100%

Артикул

Название

Примечание

Количество

1

2976350M91

DIPSTICK

DeutschDesc: MESSSTAB

1шт.

2

2976346M1

COVER

DeutschDesc: DECKEL

1шт.

3

2976344M1

GASKET

DeutschDesc: DICHTUNG

1шт.

4

391074X1

SCREW

DeutschDesc: SCHRAUBE

6шт.

5

2999780M1

FUSE

DeutschDesc: SICHERUNG ELEKTR.

6шт.

6

3092073M91

SENDER

DeutschDesc: GEBER

1шт.

7

2976344M1

GASKET

DeutschDesc: DICHTUNG

1шт.

8

339560X1

SCREW

DeutschDesc: SCHRAUBE

6шт.

9

2999780M1

FUSE

DeutschDesc: SICHERUNG ELEKTR.

6шт.

10

3092092M91

CABLE

DeutschDesc: KABEL

1шт.

11

390916X1

SCREW

DeutschDesc: SCHRAUBE

1шт.

12

1443791X1

SPRING WASHER

DeutschDesc: FEDERRING

1шт.

Выбрано товаров: 12