Запчасти Komatsu 35D АККУМУЛЯТОР ДВИГАТЕЛЬ, АКСЕССУАРЫ И ЭЛЕКТРИЧ. СИСТЕМА

Схема запчастей Komatsu 35D - АККУМУЛЯТОР ДВИГАТЕЛЬ, АКСЕССУАРЫ И ЭЛЕКТРИЧ. СИСТЕМА
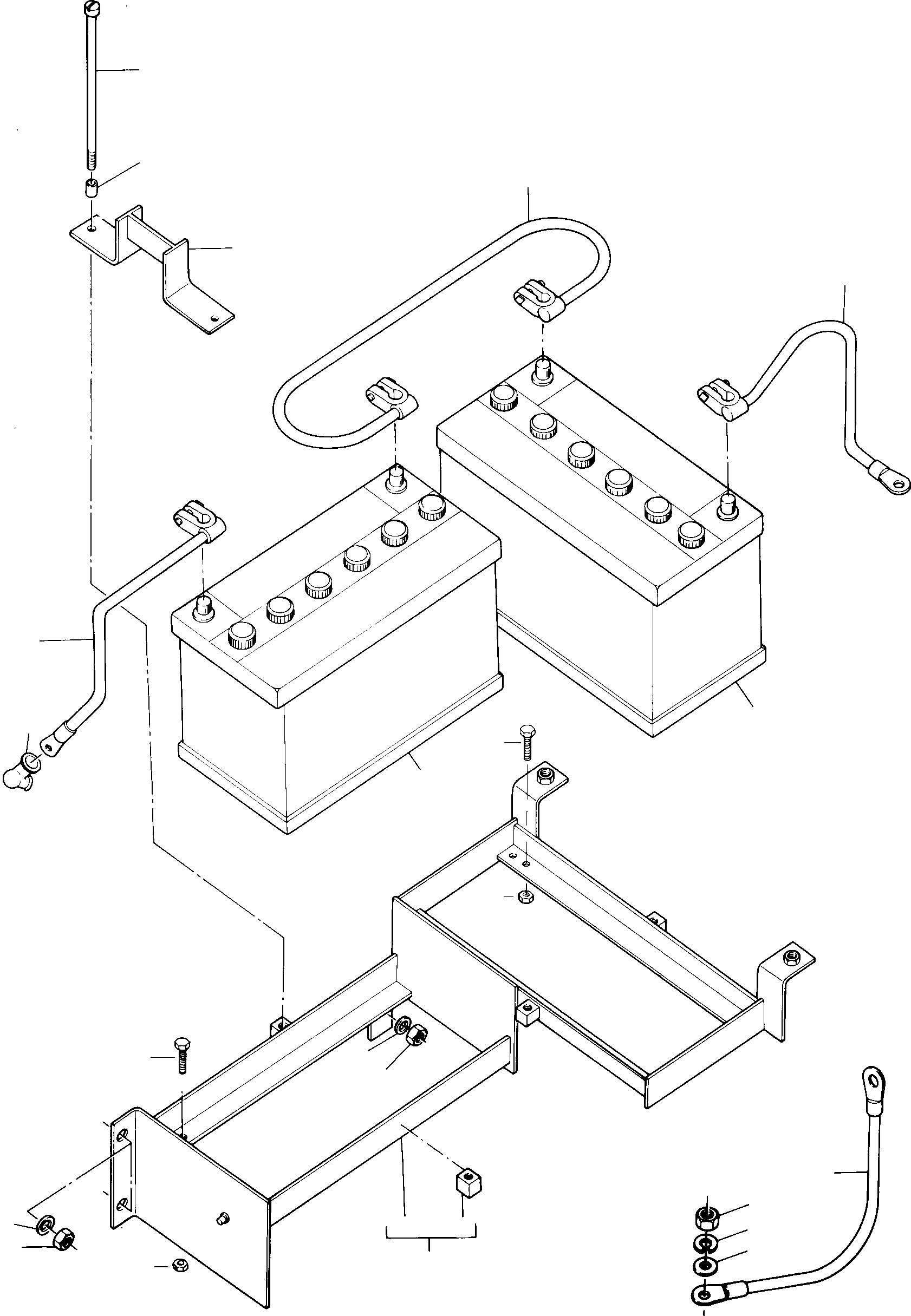
12
15
13
14
11
16
1
17
2
10
1
2
9
7
10
8
18
21
7
5
6
20
8
19
4
9
FIT
1:1
100%

Артикул

Название

Примечание

Количество

1

2995082X1

BATTERY

EnglischBem: 88 AH

2шт.

02

NOT USED

DeutschDesc: NICHT VERWENDET

-1шт.

03

NOT USED

DeutschDesc: NICHT VERWENDET

-1шт.

4

3074055M91

BATTERY HOLDER

DeutschDesc: BATTERIEHALTER

1шт.

5

BATTERY HOLDER

EnglischBem: ORDER 3074 055 M91

1шт.

6

2951600M1

THREADED PART

DeutschDesc: GEWINDESTUECK

4шт.

7

390734X1

PLAIN WASHER

DeutschDesc: UNTERLEGSCHEIBE

3шт.

8

1444331X1

NUT

DeutschDesc: MUTTER

3шт.

9

339402X1

NUT

DeutschDesc: MUTTER

2шт.

10

3004686X1

SCREW

DeutschDesc: SCHRAUBE

2шт.

11

3085128M91

STIRRUP

DeutschDesc: BUEGEL

2шт.

12

2995094X1

SCREW

DeutschDesc: SCHRAUBE

4шт.

13

NOT USED

DeutschDesc: NICHT VERWENDET

-1шт.

14

3080489M91

CABLE

DeutschDesc: KABEL

1шт.

15

3080490M91

EARTH STRAP

DeutschDesc: MASSELEITUNG

1шт.

16

3080488M91

LEAD

DeutschDesc: LEITUNG ELEKTRIK

1шт.

17

1444011X1

SECURITY CAP

DeutschDesc: SCHUTZKAPPE

1шт.

18

3080487M91

LEAD

DeutschDesc: LEITUNG ELEKTRIK

1шт.

19

1444286X1

DISC

DeutschDesc: SCHEIBE

1шт.

20

1443790X1

SPRING WASHER

DeutschDesc: FEDERRING

1шт.

21

339402X1

NUT

DeutschDesc: MUTTER

1шт.

Выбрано товаров: 21