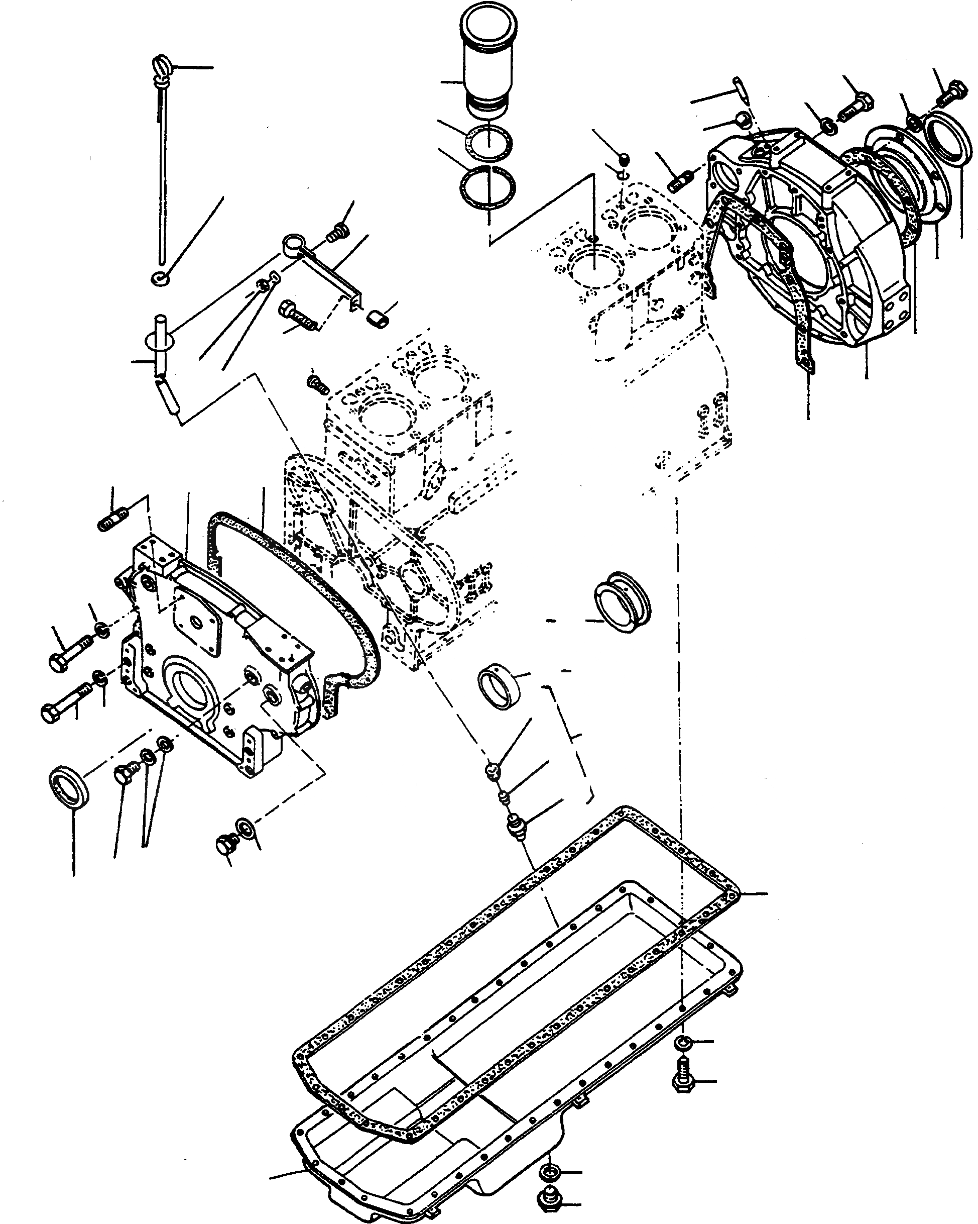
Запчасти Komatsu 44C TIMING КОРПУС ШЕСТЕРЕНН. ПЕРЕДАЧИ И КАРТЕР МАХОВИКА ДВИГАТЕЛЬ, АКСЕССУАРЫ И ЭЛЕКТРИЧ. СИСТЕМА

Схема запчастей Komatsu 44C - TIMING КОРПУС ШЕСТЕРЕНН. ПЕРЕДАЧИ И КАРТЕР МАХОВИКА ДВИГАТЕЛЬ, АКСЕССУАРЫ И ЭЛЕКТРИЧ. СИСТЕМА
49
36
31
51
18
28
45
35
44
47
21
16
30
41
24
48
50
26
39
19
37
34
33
38
42
32
62
17
40
23
29
2
12
1
10
11
52
56
57
61
46
10
43
9
5
8
4
7
3
13
22
15
14
FIT
1:1
100%

Артикул

Название

Примечание

Количество

1

2870927M1

COVER

DeutschDesc: DECKEL

1шт.

2

1443730X1

STUD BOLT

DeutschDesc: STIFTSCHRAUBE

4шт.

3

2998590M2

SEAL

DeutschDesc: DICHTRING

1шт.

4

339423X1

SCREW

DeutschDesc: SCHRAUBE

1шт.

5

391376X1

SEAL

DeutschDesc: DICHTRING

2шт.

6

NOT USED

DeutschDesc: NICHT VERWENDET

-1шт.

7

1441511X1

PLUG

DeutschDesc: VERSCHLUSSSTOPFEN

1шт.

8

390855X1

SEAL

DeutschDesc: DICHTRING

1шт.

9

339136X1

SCREW

EnglischBem: REPAIRS AND REPLACES 1443 651 X1

4шт.

10

1443789X1

SPRING WASHER

DeutschDesc: FEDERRING

12шт.

11

1443650X1

SCREW

DeutschDesc: SCHRAUBE

7шт.

12

2870925M1

GASKET

DeutschDesc: DICHTUNG

1шт.

13

2992756M1

GASKET

EnglischBem: REPAIRS AND REPLACES 2870 900 M1

1шт.

14

3090264M1

SUMP

DeutschDesc: OELWANNE

1шт.

15

391313X1

SEAL

DeutschDesc: DICHTRING

2шт.

16

1444263X1

PLUG

EnglischBem: REPAIRS AND REPLACES 1443 748 X1

2шт.

17

3089032M1

TUBE

DeutschDesc: ROHR

1шт.

18

3079556M91

OIL DIPSTICK

DeutschDesc: OELMESSSTAB

1шт.

19

2871668M1

GASKET

DeutschDesc: DICHTUNG

1шт.

20

NOT USED

DeutschDesc: NICHT VERWENDET

-1шт.

21

1443789X1

SPRING WASHER

DeutschDesc: FEDERRING

25шт.

22

339337X1

SCREW

DeutschDesc: SCHRAUBE

25шт.

23

2871110M1

FLYWHEEL HOUSING

DeutschDesc: SCHWUNGRADGEHAEUSE

1шт.

24

2868010M1

POINTER

DeutschDesc: ZEIGER

1шт.

25

NOT USED

DeutschDesc: NICHT VERWENDET

-1шт.

26

2999793M1

PLUG

DeutschDesc: VERSCHLUSSSTOPFEN

1шт.

27

NOT USED

DeutschDesc: NICHT VERWENDET

-1шт.

28

1444224X1

STUD BOLT

DeutschDesc: STIFTSCHRAUBE

3шт.

29

2871070M1

GASKET

DeutschDesc: DICHTUNG

1шт.

30

1443792X1

SPRING WASHER

DeutschDesc: FEDERRING

9шт.

31

1444093X1

SCREW

DeutschDesc: SCHRAUBE

9шт.

32

2992761M1

GASKET

EnglischBem: REPAIRS AND REPLACES 2870 935 M1

1шт.

33

2969529M1

SEALING CARRIER

DeutschDesc: DICHTUNGSTRAEGER

1шт.

34

2999623M3

SEAL

DeutschDesc: DICHTRING

1шт.

35

1443789X1

SPRING WASHER

DeutschDesc: FEDERRING

6шт.

36

339123X1

SCREW

DeutschDesc: SCHRAUBE

6шт.

37

3079523M1

CLIP

DeutschDesc: SCHELLE

1шт.

38

2872385M1

TUBE

DeutschDesc: ROHR

1шт.

39

339560X1

SCREW

DeutschDesc: SCHRAUBE

1шт.

40

1443791X1

SPRING WASHER

DeutschDesc: FEDERRING

1шт.

41

339030X1

NUT

DeutschDesc: MUTTER

1шт.

42

339287X1

SCREW

DeutschDesc: SCHRAUBE

1шт.

43

NOT USED

DeutschDesc: NICHT VERWENDET

-1шт.

44

2992601M1

STUD

EnglischBem: REPAIRS AND REPLACES 390 848 X1

1шт.

45

1443840X1

OLIVE

DeutschDesc: SCHNEIDRING

1шт.

46

339995X1

BOXNUT

DeutschDesc: UEBERWURFMUTTER

1шт.

47

3093482M1

LINER

DeutschDesc: LAUFBUCHSE

4шт.

48

2997353M1

O-RING

DeutschDesc: O-RING

8шт.

49

2869916M2

SEAL

DeutschDesc: DICHTRING

8шт.

50

2976200M1

TUBE

DeutschDesc: ROHR

4шт.

51

2997352M1

O-RING

DeutschDesc: O-RING

4шт.

52

2870835M91

LAPPED BEARING

EnglischBem: Ш 105,00 MM

1шт.

53

2870859M91

LAPPED BEARING

EnglischBem: FOR REPAIR Ш 104,75 MM

1шт.

54

2870860M91

LAPPED BEARING

EnglischBem: FOR REPAIR Ш 104,50 MM

1шт.

55

2870861M91

LAPPED BEARING

EnglischBem: FOR REPAIR Ш 104,25 MM

1шт.

56

2870862M91

LAPPED BEARING

EnglischBem: FOR REPAIR Ш 104,00 MM

1шт.

57

2870836M91

CRANKSHAFT BEARING

EnglischBem: Ш 105,00 MM

4шт.

58

2870863M91

CRANKSHAFT BEARING

EnglischBem: FOR REPAIR Ш 104,75 MM

4шт.

59

2870864M91

CRANKSHAFT BEARING

EnglischBem: FOR REPAIR Ш 104,50 MM

4шт.

60

2870865M91

CRANKSHAFT BEARING

EnglischBem: FOR REPAIR Ш 104,25 MM

4шт.

61

2870866M91

CRANKSHAFT BEARING

EnglischBem: FOR REPAIR Ш 104,00 MM

4шт.

62

1444207X1

SCREW

DeutschDesc: SCHRAUBE

4шт.

Выбрано товаров: 0