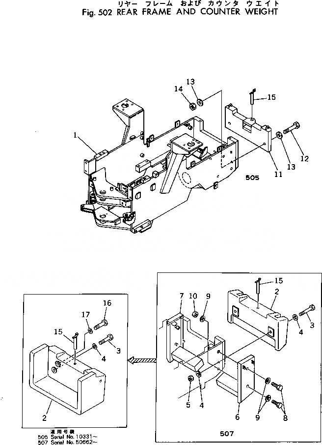
Запчасти Komatsu 505-1 ЗАДН. РАМА И ПРОТИВОВЕС РАМА И ЧАСТИ КОРПУСА

Схема запчастей Komatsu 505-1 - ЗАДН. РАМА И ПРОТИВОВЕС РАМА И ЧАСТИ КОРПУСА
FIT
1:1
100%

Артикул

Название

Примечание

Количество

1

385-10259342

FRAME,REAR

SN: 10511-UP

1шт.

|1

385-10259341

FRAME,REAR

SN: 10439-10510

1шт.

|1

385-10231891

FRAME,REAR

SN: 10331-10438

1шт.

|1

385-10123252

FRAME,REAR

SN: .-10330

1шт.

|1

0

FRAME,REAR

SN: 10001-.

1шт.

2

385-10234392

WEIGHT,COUNTER

SN: 10000-10000

1шт.

|2

385-10123311

WEIGHT,COUNTER

SN: 10000-10000

1шт.

3

01011-52475

BOLT

SN: 10000-10000

2шт.

4

01643-32460

WASHER

SN: 10000-10000

2шт.

|4

01643-32460

WASHER

SN: 10000-10000

4шт.

5

01580-12419

NUT

SN: 10000-10000

2шт.

6

385-10123321

WEIGHT,COUNTER¤ L.H.

SN: 10000-10000

1шт.

7

385-10123351

WEIGHT,COUNTER¤ R.H.

SN: 10000-10000

1шт.

8

01011-52415

BOLT

SN: 10000-10000

4шт.

9

01643-32460

WASHER

SN: 10000-10000

6шт.

10

01580-12419

NUT

SN: 10000-10000

2шт.

11

385-10215922

WEIGHT,COUNTER

SN: 10283-UP

1шт.

|11

0

WEIGHT,COUNTER

SN: 10001-10282

1шт.

12

01011-52460

BOLT

SN: 10001-UP

2шт.

13

01643-32460

WASHER

SN: 10331-UP

2шт.

|13

01643-32460

WASHER

SN: 10001-10330

4шт.

14

01580-12419

NUT

SN: 10001-10330

2шт.

15

385-11092791

PIN ASS'Y

SN: 10001-UP

1шт.

16

01011-52460

BOLT

SN: 10000-10000

2шт.

17

01643-32460

WASHER

SN: 10000-10000

2шт.

Выбрано товаров: 0