Запчасти Komatsu 505-1 BACK HOE ЭЛЕКТР. И ГИДРАВЛИКАS(№-9) РАБОЧЕЕ ОБОРУДОВАНИЕ

Схема запчастей Komatsu 505-1 - BACK HOE ЭЛЕКТР. И ГИДРАВЛИКАS(№-9) РАБОЧЕЕ ОБОРУДОВАНИЕ
FIT
1:1
100%

Артикул

Название

Примечание

Количество

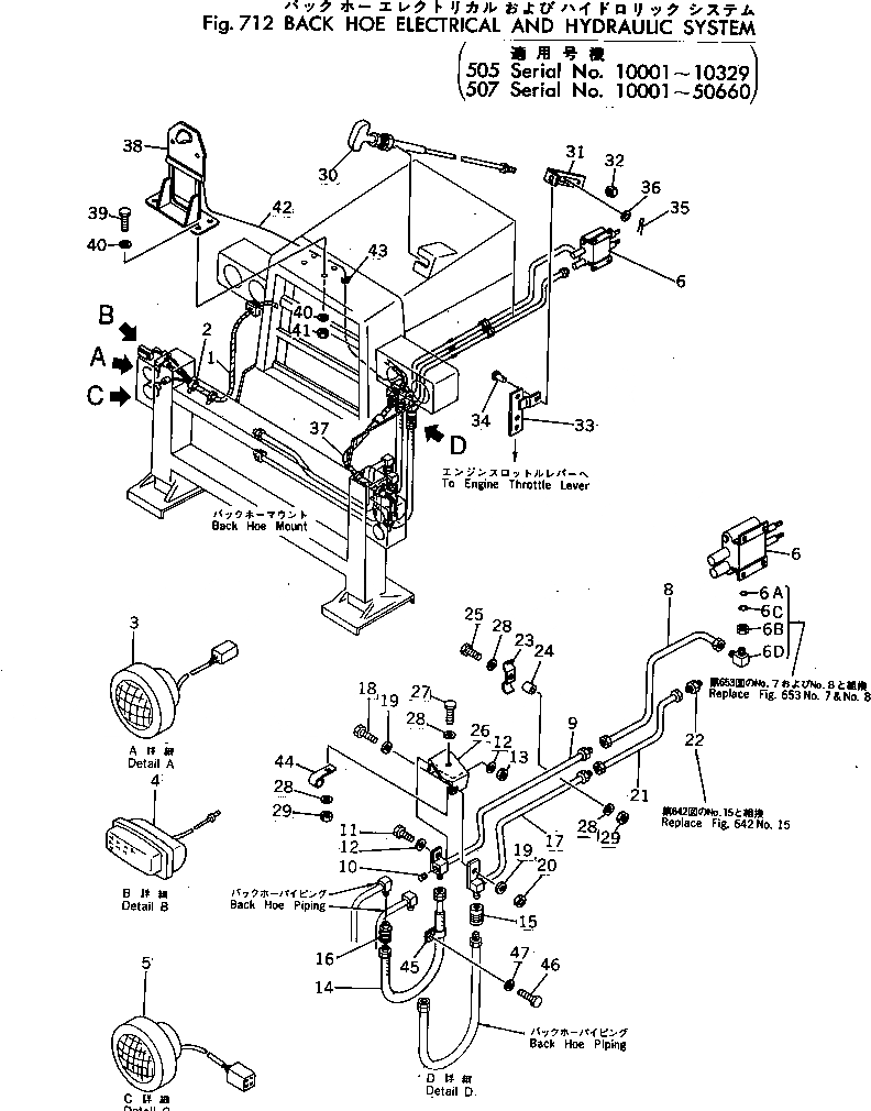
1

385-10156481

WIRING HARNESS

SN: 10001-10329

1шт.

1A

385-10156491

WIRING HARNESS

SN: 10001-10329

1шт.

2

381-976197-1

STRAP

SN: 10001-10329

10шт.

3

385-10051701

LAMP,COMBINATION

SN: 10001-10329

2шт.

|3

385-10051711

BULB¤ 6W

SN: 10001-10329

2шт.

|3

08105-12420

BULB¤ 25W

SN: 10001-10329

1шт.

|3

385-10051721

LENS

SN: 10001-10329

1шт.

4

381-970605-2

LAMP,BACK-UP

SN: 10001-10329

1шт.

|4

08105-12420

BULB¤ 25W

SN: 10001-10329

1шт.

|4

381-976941-1

LENS

SN: 10001-10329

1шт.

5

385-10071541

LAMP,TURN SIGNAL¤ REAR

SN: 10001-10329

2шт.

|5

08105-12420

BULB¤ 25W

SN: 10001-10329

1шт.

|5

385-10071551

LENS

SN: 10001-10329

1шт.

6

385-10137551

VALVE ASS'Y

SN: 10001-@

1шт.

6A

385-10154471

O-RING

SN: 10001-@

1шт.

6B

07239-12410

NUT

SN: 10001-@

1шт.

6C

07002-02434

O-RING

SN: 10001-@

1шт.

6D

385-10154452

ELBOW

SN: 10001-@

1шт.

8

385-10136582

TUBE

SN: .-@

1шт.

|8

0

TUBE

SN: 10001-.

1шт.

9

385-10211021

TUBE

SN: ..-10329

1шт.

|9

385-10136602

TUBE

SN: .-..

1шт.

|9

0

TUBE

SN: 10001-.

1шт.

10

07042-20108

PLUG

SN: 10001-10329

1шт.

11

01010-51030

BOLT

SN: 10001-.

1шт.

12

01643-31032

WASHER

SN: 10001-.

2шт.

13

01580-11008

NUT

SN: 10001-.

1шт.

14

385-10167861

HOSE

SN: .-10329

1шт.

|14

385-10136801

HOSE

SN: 10001-.

1шт.

15

381-978158-1

COUPLING

SN: 10001-10329

1шт.

16

381-978157-1

COUPLING

SN: 10001-10329

1шт.

17

385-10211031

TUBE

SN: ..-10329

1шт.

|17

385-10136612

TUBE

SN: .-..

1шт.

|17

0

TUBE

SN: 10001-.

1шт.

18

01010-51030

BOLT

SN: 10001-.

1шт.

19

01643-31032

WASHER

SN: 10001-.

1шт.

20

01580-11008

NUT

SN: 10001-.

1шт.

21

385-10136592

TUBE

SN: .-10329

1шт.

|21

0

TUBE

SN: 10001-.

1шт.

22

385-10167851

NIPPLE

SN: .-10329

1шт.

|22

0

UNION

SN: 10001-.

1шт.

23

385-10126421

CLAMP

SN: 10001-10329

1шт.

24

385-10137271

SPACER

SN: 10001-10329

1шт.

25

01010-51045

BOLT

SN: 10001-10329

1шт.

26

385-10126341

SUPPORT

SN: 10001-.

1шт.

27

01010-51030

BOLT

SN: 10001-10329

1шт.

28

01643-31032

WASHER

SN: 10001-10329

4шт.

29

01580-11008

NUT

SN: 10001-10329

2шт.

30

385-10126741

CABLE

SN: 10001-@

1шт.

31

385-10126451

LINK

SN: 10001-@

1шт.

32

01580-10605

NUT

SN: 10001-@

1шт.

33

385-10156451

LEVER

SN: 10001-.

1шт.

34

384-0138083

PIN

SN: 10001-@

1шт.

35

384-0103361

PIN

SN: 10001-@

1шт.

36

01643-30623

WASHER

SN: 10001-@

1шт.

38

385-10162481

SUPPORT

SN: 10001-10329

1шт.

39

01010-51230

BOLT

SN: 10001-10329

2шт.

40

01643-31232

WASHER

SN: 10001-10329

4шт.

41

01580-11210

NUT

SN: 10001-10329

2шт.

42

385-10162531

CABLE

SN: 10001-10329

1шт.

43

08037-01008

GROMMET

SN: 10001-10329

1шт.

44

380-129668-1

CLIP

SN: 10001-10329

1шт.

45

381-892033-1

CLIP

SN: 10001-10329

1шт.

46

01010-51016

BOLT

SN: 10001-10329

1шт.

47

381-989464-1

WASHER

SN: 10001-10329

1шт.

Выбрано товаров: 65