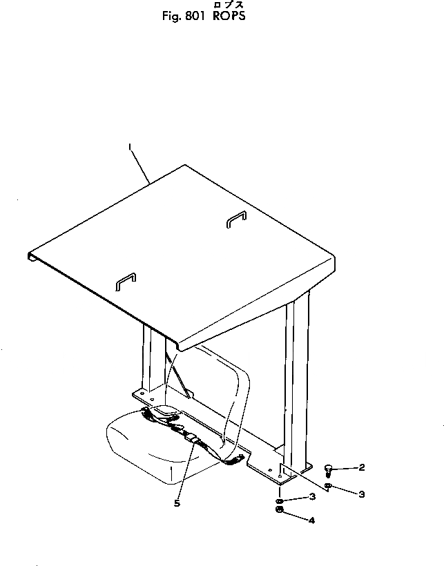
Запчасти Komatsu 505-1 ROPS ОПЦИОННЫЕ КОМПОНЕНТЫ

Схема запчастей Komatsu 505-1 - ROPS ОПЦИОННЫЕ КОМПОНЕНТЫ
FIT
1:1
100%

Артикул

Название

Примечание

Количество

|1

385-10162711

ROPS KIT

SN: 10001-UP

1шт.

1

385-10163621

CANOPY

SN: 10001-UP

1шт.

2

01010-51245

BOLT

SN: 10001-UP

10шт.

3

01643-31232

WASHER

SN: 10001-UP

20шт.

4

01580-11210

NUT

SN: 10001-UP

10шт.

5

385-10065291

BELT

SN: 10001-UP

1шт.

Выбрано товаров: 6