Запчасти Komatsu 507-1 СИДЕНЬЕ ОПЕРАТОРА РАМА И ЧАСТИ КОРПУСА

Схема запчастей Komatsu 507-1 - СИДЕНЬЕ ОПЕРАТОРА РАМА И ЧАСТИ КОРПУСА
FIT
1:1
100%

Артикул

Название

Примечание

Количество

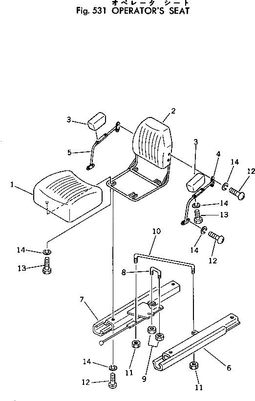
|1

381-987450-3

SEAT ASS'Y

SN: 50001-UP

1шт.

1

381-987451-1

CUSHION

SN: 50001-UP

1шт.

2

381-988488-2

CUSHION

SN: 50001-UP

1шт.

3

381-987453-1

REST

SN: 50001-UP

2шт.

4

381-988486-1

FRAME,L.H.

SN: 50001-UP

1шт.

5

381-988487-1

FRAME,R.H.

SN: 50001-UP

1шт.

6

381-987456-1

SLIDE,L.H.

SN: 50001-UP

1шт.

7

381-987457-1

SLIDE,R.H.

SN: 50001-UP

1шт.

8

381-987458-1

WIRE

SN: 50001-UP

1шт.

9

381-987459-1

NUT

SN: 50001-UP

2шт.

10

381-987460-1

WIRE

SN: 50001-UP

1шт.

11

381-987459-1

NUT

SN: 50001-UP

2шт.

12

01220-40816

SCREW

SN: 50001-UP

12шт.

13

01010-30840

BOLT

SN: 50001-UP

6шт.

14

01602-20825

WASHER

SN: 50001-UP

18шт.

Выбрано товаров: 0