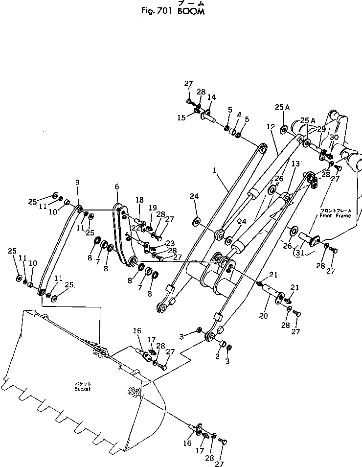
Запчасти Komatsu 507-1 СТРЕЛА РАБОЧЕЕ ОБОРУДОВАНИЕ

Схема запчастей Komatsu 507-1 - СТРЕЛА РАБОЧЕЕ ОБОРУДОВАНИЕ
FIT
1:1
100%

Артикул

Название

Примечание

Количество

1

385-10138111

BOOM ASS'Y

SN: 50000-50000

1шт.

|1

385-10110831

BOOM ASS'Y

SN: 50001-UP

1шт.

2

385-10110781

BUSHING

SN: 50001-UP

2шт.

3

07145-00035

SEAL,DUST

SN: 50001-UP

4шт.

4

385-10110791

BUSHING

SN: 50001-UP

2шт.

5

07145-00045

SEAL,DUST

SN: 50001-UP

4шт.

6

385-10138162

LEVER ASS'Y,BUCKET

SN: 50000-50000

1шт.

|6

0

LEVER ASS'Y,BUCKET

SN: 50000-50000

1шт.

|6

385-10110512

LEVER ASS'Y,BUCKET

SN: 50001-UP

1шт.

|6

0

LEVER ASS'Y,BUCKET

SN: 50001-UP

1шт.

7

385-10110521

BUSHING

SN: 50001-UP

2шт.

8

07145-00060

SEAL,DUST

SN: 50001-UP

4шт.

9

385-10138191

LINK ASS'Y,BUCKET

SN: 50000-50000

1шт.

|9

385-10110871

LINK ASS'Y,BUCKET

SN: 50001-UP

1шт.

10

385-10110781

BUSHING

SN: 50001-UP

2шт.

11

07145-00035

SEAL,DUST

SN: 50001-UP

4шт.

12

385-10106601

CYLINDER ASS'Y,BUCKET

SN: 50000-50000

1шт.

|12

385-10111211

CYLINDER ASS'Y,BUCKET

SN: 50001-UP

1шт.

13

385-10106591

CYLINDER ASS'Y,BOOM

SN: 50000-50000

1шт.

|13

385-10111201

CYLINDER ASS'Y,BOOM

SN: 50001-UP

1шт.

14

385-10110751

PIN

SN: 50001-UP

2шт.

15

07020-00000

FITTING,GREASE

SN: 50001-UP

2шт.

16

385-10110771

PIN

SN: 50001-UP

3шт.

17

07020-00000

FITTING,GREASE

SN: 50001-UP

3шт.

18

385-10110651

PIN

SN: 50001-UP

1шт.

19

07020-00000

FITTING,GREASE

SN: 50001-UP

1шт.

20

385-10110671

PIN

SN: 50001-UP

1шт.

21

07020-00000

FITTING,GREASE

SN: 50001-UP

2шт.

22

385-10110711

PIN

SN: 50001-UP

1шт.

23

07020-00000

FITTING,GREASE

SN: 50001-UP

1шт.

24

385-10110921

SPACER

SN: 50001-UP

2шт.

25

385-10110881

SHIM¤ 1.6MM

SN: 50001-UP

-2шт.

|25

385-10110891

SHIM¤ 3.2MM

SN: 50001-UP

-2шт.

25A

385-10110901

SHIM¤ 1.6MM

SN: 50001-UP

-2шт.

|25A

385-10110911

SHIM¤ 3.2MM

SN: 50001-UP

-2шт.

26

385-10135491

SHIM

SN: 50001-UP

-2шт.

27

01010-51220

BOLT

SN: 50001-UP

10шт.

28

381-932278-1

WASHER

SN: 50001-UP

10шт.

29

385-10110731

PIN

SN: 50001-UP

1шт.

30

07020-00000

FITTING,GREASE

SN: 50001-UP

1шт.

31

385-10110691

PIN

SN: 50001-UP

1шт.

Выбрано товаров: 41