Запчасти Komatsu 510-1 РАДИАТОР(№88-) КОМПОНЕНТЫ ДВИГАТЕЛЯ И ЭЛЕКТРИКА

Схема запчастей Komatsu 510-1 - РАДИАТОР(№88-) КОМПОНЕНТЫ ДВИГАТЕЛЯ И ЭЛЕКТРИКА
FIT
1:1
100%

Артикул

Название

Примечание

Количество

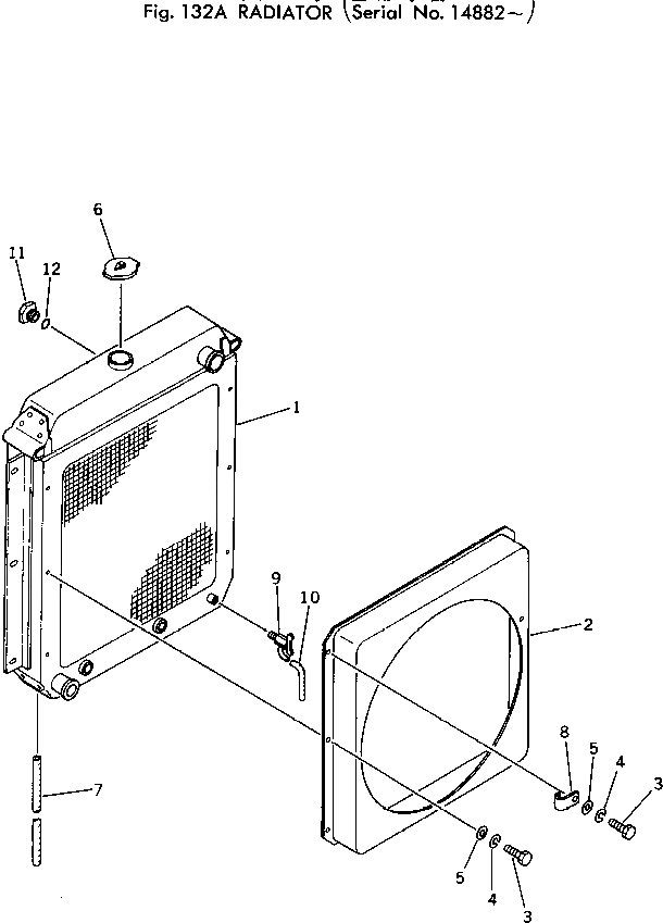
|1

385-10313522

RADIATOR ASS'Y

SN: 15027-UP

1шт.

|1

0

RADIATOR ASS'Y

SN: 14882-15026

1шт.

1

385-10313532

RADIATOR ASS'Y

SN: 15027-UP

1шт.

|1

0

RADIATOR ASS'Y

SN: 14882-15026

1шт.

2

385-10241132

SHROUD

SN: 15027-UP

1шт.

|2

0

SHROUD

SN: 14004-15026

1шт.

3

382-025480-1

BOLT

SN: 10001-UP

6шт.

4

384-0131098

WASHER

SN: 10001-UP

6шт.

5

382-025551-1

WASHER

SN: 10001-UP

6шт.

6

380-885255-4

CAP

SN: 10001-UP

1шт.

7

381-976054-1

PIPE

SN: 10001-UP

1шт.

8

385-11091221

CLIP

SN: 10001-UP

2шт.

9

385-10081791

VALVE

SN: 10001-UP

1шт.

10

385-10081801

PIPE

SN: 10001-UP

1шт.

11

385-11105491

GAUGE

SN: 14004-UP

1шт.

12

382-307915-1

O-RING

SN: 14004-UP

1шт.

Выбрано товаров: 16