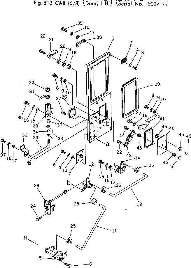
Запчасти Komatsu 510-1 КАБИНА (/8) (ДВЕРЬ ЛЕВ.)(№7-) ОПЦИОННЫЕ КОМПОНЕНТЫ

Схема запчастей Komatsu 510-1 - КАБИНА (/8) (ДВЕРЬ ЛЕВ.)(№7-) ОПЦИОННЫЕ КОМПОНЕНТЫ
FIT
1:1
100%

Артикул

Название

Примечание

Количество

|1

385-10331551

CAB KIT

SN: 15027-UP

1шт.

|1

385-10331442

CAB ASS'Y

SN: 15027-UP

1шт.

|1

385-10366991

DOOR ASS'Y,L.H.

SN: 15027-UP

1шт.

1

385-10367011

DOOR ASS'Y,L.H.

SN: 15027-UP

1шт.

2

385-10087871

HINGE

SN: 15027-UP

2шт.

3

01010-50825

BOLT

SN: 15027-UP

4шт.

4

01602-20825

WASHER

SN: 15027-UP

4шт.

5

385-10344201

HANDLE,OUTSIDE

SN: 15027-UP

1шт.

6

385-10345251

SCREW

SN: 15027-UP

2шт.

7

385-10366971

COVER,L.H.

SN: 15027-UP

1шт.

8

381-976160-1

WASHER

SN: 15027-UP

8шт.

9

01601-20513

WASHER

SN: 15027-UP

8шт.

10

01641-20508

WASHER

SN: 15027-UP

8шт.

11

385-10344221

LINK

SN: 15027-UP

1шт.

12

385-10344231

BELLCRANK,L.H.

SN: 15027-UP

1шт.

13

385-10344251

LINK

SN: 15027-UP

1шт.

14

385-10087981

CONTROL ASS'Y,REMOTE

SN: 15027-UP

1шт.

15

01220-40612

SCREW

SN: 15027-UP

2шт.

16

01602-20619

WASHER

SN: 15027-UP

9шт.

17

01641-20608

WASHER

SN: 15027-UP

7шт.

18

385-10128341

SEAL

SN: 15027-UP

1шт.

19

381-974944-1

BASE

SN: 15027-UP

1шт.

20

381-974942-1

ESCUTCHEON

SN: 15027-UP

1шт.

21

381-980874-1

HANDLE

SN: 15027-UP

1шт.

22

385-10345261

SCREW

SN: 15027-UP

3шт.

23

385-10126021

LOCK,R.H.

SN: 15027-UP

1шт.

24

385-10345271

SCREW

SN: 15027-UP

3шт.

25

385-10345331

SNAP

SN: 15027-UP

4шт.

26

385-10366951

COVER

SN: 15027-UP

1шт.

27

01370-00512

SCREW

SN: 15027-UP

4шт.

|28

385-10360151

CATCHER ASS'Y,L.H.

SN: 15027-UP

1шт.

28

385-10360391

BRACKET

SN: 15027-UP

1шт.

29

385-10360181

ROD

SN: 15027-UP

1шт.

30

385-10360191

SPRING

SN: 15027-UP

1шт.

31

385-10310401

HANDLE

SN: 15027-UP

1шт.

32

385-10310411

NUT

SN: 15027-UP

1шт.

33

385-10360801

WASHER

SN: 15027-UP

2шт.

34

04050-13020

PIN

SN: 15027-UP

1шт.

35

01220-40625

SCREW

SN: 15027-UP

2шт.

36

385-10344351

LINK

SN: 15027-UP

1шт.

37

01220-40616

SCREW

SN: 15027-UP

1шт.

38

381-981565-1

HANDLE

SN: 15027-UP

1шт.

39

385-10366921

STRIP

SN: 15027-UP

1шт.

40

385-10366901

GLASS

SN: 15027-UP

1шт.

41

385-10366931

STRIP

SN: 15027-UP

1шт.

42

385-10084901

FASTENER

SN: 15027-UP

1шт.

43

385-10084911

HINGE

SN: 15027-UP

2шт.

44

385-10344451

SCREW

SN: 15027-UP

1шт.

45

385-10084921

PACKING

SN: 15027-UP

6шт.

46

385-10084931

RETAINER

SN: 15027-UP

3шт.

47

01220-40616

SCREW

SN: 15027-UP

2шт.

Выбрано товаров: 51