Запчасти Komatsu 510-1 ТОПЛ. БАК И ТОПЛИВОПРОВОД(№-) КОМПОНЕНТЫ ДВИГАТЕЛЯ И ЭЛЕКТРИКА

Схема запчастей Komatsu 510-1 - ТОПЛ. БАК И ТОПЛИВОПРОВОД(№-) КОМПОНЕНТЫ ДВИГАТЕЛЯ И ЭЛЕКТРИКА
FIT
1:1
100%

Артикул

Название

Примечание

Количество

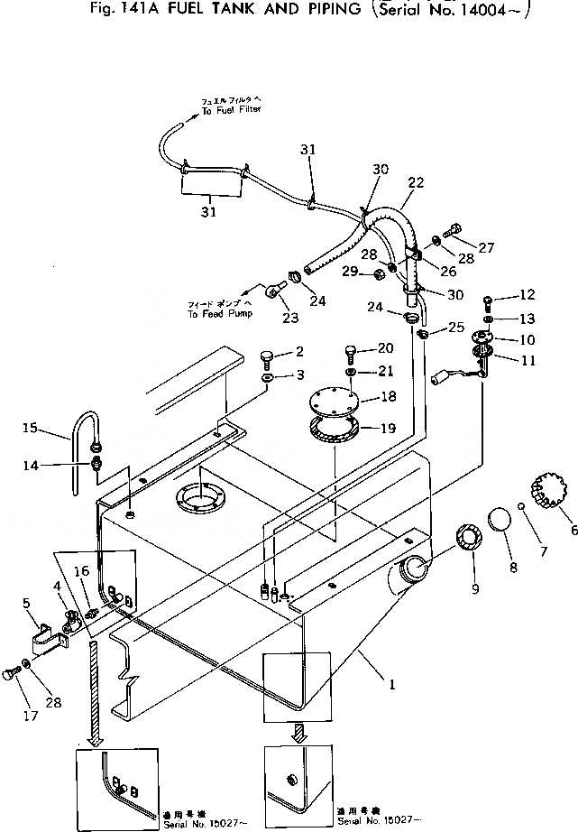
1

385-10294183

TANK,FUEL

SN: 15963-UP

1шт.

|1

0

TANK,FUEL

SN: 15027-15962

1шт.

|1

385-10233401

TANK,FUEL

SN: 14004-15026

1шт.

2

382-024861-1

BOLT

SN: 14004-UP

4шт.

3

382-025555-1

WASHER

SN: 14004-UP

4шт.

4

385-10051171

VALVE,DRAIN

SN: 15027-UP

1шт.

|4

385-10051741

VALVE,DRAIN

SN: 14004-15026

1шт.

5

385-10051751

COVER

SN: 14004-UP

1шт.

|6

385-11037681

CAP ASS'Y

SN: 10001-UP

1шт.

6

381-988178-1

CAP

SN: 10001-UP

1шт.

7

382-017012-1

BALL

SN: 10001-UP

1шт.

8

381-618689-1

PLATE

SN: 10001-UP

1шт.

9

381-618688-1

GASKET

SN: 10001-UP

1шт.

10

385-10285382

SENDER,FUEL LEVEL

SN: 15027-UP

1шт.

|10

385-10329671

SENDER,FUEL LEVEL

SN: 14954-15026

1шт.

|10

0

SENDER,FUEL LEVEL

SN: 14004-14953

1шт.

11

385-10191931

GASKET

SN: 12852-UP

1шт.

12

380-132226-1

BOLT

SN: 10001-UP

5шт.

13

384-0106497

WASHER

SN: 10001-UP

5шт.

14

382-317783-1

CONNECTOR

SN: 14004-UP

1шт.

15

385-11033241

TUBE

SN: 14004-UP

1шт.

16

385-10015421

CONNECTOR

SN: 14004-15026

1шт.

17

382-024838-1

BOLT

SN: 14004-UP

2шт.

18

381-986021-3

COVER

SN: 14004-UP

1шт.

19

381-986022-2

GASKET

SN: 10001-UP

1шт.

20

382-024839-1

BOLT

SN: 10001-UP

6шт.

21

382-025544-1

WASHER

SN: 10001-UP

6шт.

22

381-970401-2

HOSE

SN: 14004-UP

1шт.

23

385-10123782

JOINT

SN: 14004-UP

1шт.

24

383-30652921

CLAMP

SN: 14004-UP

2шт.

25

382-534421-1

CLIP

SN: 14004-UP

1шт.

26

382-129083-1

CLAMP

SN: 14450-UP

1шт.

|26

381-299566-1

CLAMP

SN: 14004-14449

1шт.

27

382-024840-1

BOLT

SN: 14004-UP

1шт.

28

382-025534-1

WASHER

SN: 14004-UP

4шт.

29

382-025522-1

NUT

SN: 14004-UP

1шт.

30

381-935522-1

STRAP

SN: 14004-UP

2шт.

31

381-976197-1

STRAP

SN: 14004-UP

6шт.

Выбрано товаров: 38