Запчасти Komatsu 510-1 ПАНЕЛЬ ПРИБОРОВ(№-) КОМПОНЕНТЫ ДВИГАТЕЛЯ И ЭЛЕКТРИКА

Схема запчастей Komatsu 510-1 - ПАНЕЛЬ ПРИБОРОВ(№-) КОМПОНЕНТЫ ДВИГАТЕЛЯ И ЭЛЕКТРИКА
FIT
1:1
100%

Артикул

Название

Примечание

Количество

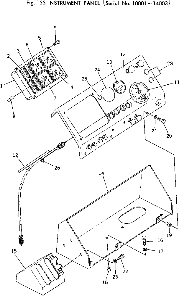
1

385-11015851

GAUGE CLUSTER

SN: 10001-@

1шт.

2

385-11040791

LENS,WARNING LAMP

SN: 10001-@

1шт.

3

385-11040801

LENS,WARNING LAMP

SN: 10001-@

1шт.

4

385-11040811

VOLTMETER

SN: 10001-@

1шт.

5

385-11040821

GAUGE,FUEL

SN: 10001-@

1шт.

6

385-11040831

GAUGE,ENGINE WATER TEMPERATURE

SN: 10001-@

1шт.

7

385-11040841

GAUGE,TORQUE CONVERTER OIL TEMP.

SN: 10001-@

1шт.

8

382-027727-1

BULB,PILOT LAMP

SN: 10001-@

8шт.

9

384-0133578

SCREW

SN: 10001-@

4шт.

10

385-11047951

METER,SERVICE

SN: 10001-@

1шт.

11

385-11047941

SPEEDOMETER

SN: 10001-@

1шт.

12

385-11047931

CABLE

SN: 10001-@

1шт.

13

385-11091372

PANEL,INSTRUMENT

SN: 10728-14003

1шт.

|13

385-11048552

PANEL,INSTRUMENT

SN: 10272-10727

1шт.

|13

0

PANEL,INSTRUMENT

SN: 10001-10271

1шт.

14

385-11048571

SUPPORT

SN: 10001-@

1шт.

15

385-11048613

SUPPORT

SN: 10464-@

1шт.

|15

0

SUPPORT

SN: 10001-10463

1шт.

16

382-024842-1

BOLT

SN: 10001-@

4шт.

17

382-025534-1

WASHER

SN: 10001-@

4шт.

18

382-025522-1

NUT

SN: 10001-@

4шт.

19

381-934811-1

CUSHION

SN: 10001-@

6шт.

20

382-025483-1

BOLT

SN: 10001-@

6шт.

21

382-025532-1

WASHER

SN: 10001-@

6шт.

22

382-025752-1

BOLT

SN: 10001-@

3шт.

23

382-025532-1

WASHER

SN: 10001-@

3шт.

24

380-887155-1

PLUG

SN: 10001-14003

1шт.

25

385-11048121

BUTTON

SN: 10001-14003

3шт.

26

381-976195-1

STRAP

SN: 10001-14003

1шт.

Выбрано товаров: 0