Запчасти Komatsu 510-1 2 И 3 МУФТА ТРАНСМИССИЯ

Схема запчастей Komatsu 510-1 - 2 И 3 МУФТА ТРАНСМИССИЯ
FIT
1:1
100%

Артикул

Название

Примечание

Количество

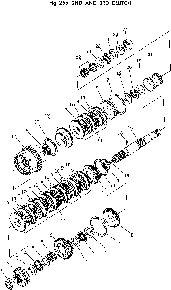
|1

385-11052463

TRANSMISSION ASS'Y

SN: 16420-UP

1шт.

|1

0

TRANSMISSION ASS'Y

SN: 15002-16419

1шт.

|1

0

TRANSMISSION ASS'Y

SN: 10001-15001

1шт.

|1

385-11122652

CLUTCH ASS'Y,2ND AND 3RD

SN: 15002-UP

1шт.

|1

0

CLUTCH ASS'Y,2ND AND 3RD

SN: 10001-15001

1шт.

1

381-937078-1

BEARING

SN: 10001-UP

1шт.

2

381-941312-1

GEAR¤ 21 TEETH

SN: 10001-UP

1шт.

3

381-935246-1

RACE

SN: 10001-UP

4шт.

4

381-935245-1

BEARING

SN: 10001-UP

2шт.

5

382-324490-1

BEARING

SN: 15002-UP

1шт.

|5

382-336903-1

BEARING

SN: 10001-15001

1шт.

6

385-11106901

GEAR¤ 40 TEETH,2ND

SN: 15002-UP

1шт.

|6

381-941313-1

GEAR¤ 40 TEETH,2ND

SN: 10001-15001

1шт.

7

381-922535-1

RING

SN: 10001-UP

2шт.

8

385-11117791

PLATE

SN: 13464-UP

2шт.

|8

0

PLATE

SN: 10001-13463

2шт.

9

381-922551-1

PLATE

SN: 15002-UP

9шт.

|9

381-922551-1

PLATE

SN: 10001-15001

8шт.

10

381-922913-1

SPRING

SN: 15002-UP

18шт.

|10

381-922913-1

SPRING

SN: 10001-15001

16шт.

11

381-922549-1

PLATE

SN: 15002-UP

11шт.

|11

381-922549-1

PLATE

SN: 10001-15001

10шт.

12

385-11122562

PISTON

SN: 15002-UP

2шт.

|12

381-941327-1

PISTON

SN: 10001-15001

2шт.

13

385-11120711

RING

SN: 15002-UP

2шт.

|13

381-935025-1

RING

SN: 10001-15001

2шт.

14

381-935026-1

RING

SN: 10001-UP

2шт.

15

381-987593-1

SCREW

SN: 10001-UP

1шт.

|16

385-11128161

HOUSING ASS'Y

SN: 15002-UP

1шт.

|16

381-941291-1

HOUSING ASS'Y

SN: 10001-15001

1шт.

16

0

SHAFT

SN: 10001-UP

1шт.

17

0

HOUSING

SN: 10001-UP

1шт.

18

382-017134-1

PIN

SN: 10001-UP

2шт.

19

381-921272-1

RACE,THRUST

SN: 10001-UP

4шт.

20

382-374011-1

BEARING,THRUST

SN: 10001-UP

2шт.

21

381-941314-2

GEAR¤ 22 TEETH

SN: 12235-UP

1шт.

|21

0

GEAR¤ 22 TEETH

SN: 10001-12234

1шт.

22

381-610766-1

BEARING,NEEDLE

SN: 10001-UP

2шт.

23

381-941321-1

SPACER

SN: 10001-UP

1шт.

24

381-937076-1

BEARING,BALL

SN: 10001-UP

1шт.

Выбрано товаров: 0