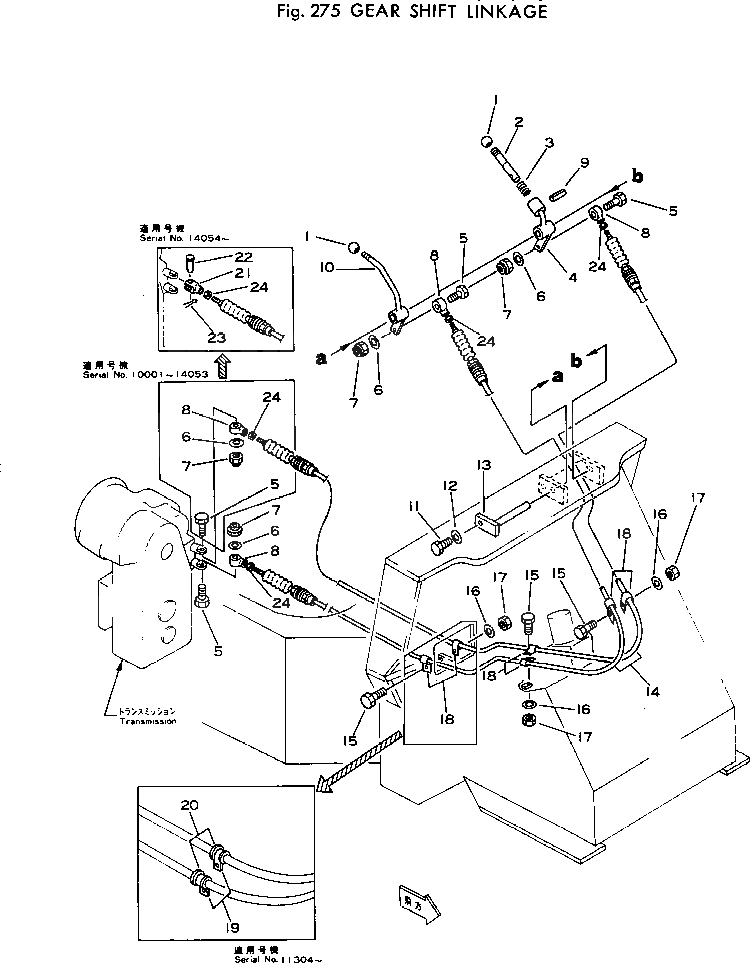
Запчасти Komatsu 510-1 МЕХАНИЗМ ПЕРЕКЛЮЧЕНИЯ ПЕРЕДАЧ ТРАНСМИССИЯ

Схема запчастей Komatsu 510-1 - МЕХАНИЗМ ПЕРЕКЛЮЧЕНИЯ ПЕРЕДАЧ ТРАНСМИССИЯ
FIT
1:1
100%

Артикул

Название

Примечание

Количество

1

381-923134-1

KNOB

SN: 10001-UP

2шт.

2

385-11038651

ROD

SN: 10001-UP

1шт.

3

380-885118-3

SPRING

SN: 10001-UP

1шт.

4

385-11038691

LEVER ASS'Y,SPEED CONTROL

SN: 10001-UP

1шт.

5

382-025751-1

BOLT

SN: 14054-UP

3шт.

|5

382-025751-1

BOLT

SN: 10001-14053

4шт.

6

382-025533-1

WASHER

SN: 14054-UP

3шт.

|6

382-025533-1

WASHER

SN: 10001-14053

4шт.

7

384-9413977

NUT

SN: 14054-UP

3шт.

|7

384-9413977

NUT

SN: 10001-14053

4шт.

8

381-514358-1

END

SN: 14054-UP

3шт.

|8

381-514358-1

END

SN: 10001-14053

4шт.

9

380-153964-1

PIN

SN: 10001-UP

1шт.

10

385-11038701

LEVER ASS'Y,FORWARD AND REVERSE

SN: 10001-UP

1шт.

11

382-024839-1

BOLT

SN: 10001-UP

1шт.

12

382-025553-1

WASHER

SN: 10001-UP

1шт.

13

385-11014592

PIN

SN: 10001-UP

1шт.

14

385-10292611

CABLE

SN: 14486-UP

2шт.

|14

385-10158681

CABLE

SN: .-14485

2шт.

|14

0

CABLE

SN: 10428-.

2шт.

|14

0

CABLE

SN: 10001-10427

2шт.

15

382-024840-1

BOLT

SN: 10001-UP

3шт.

16

382-025534-1

WASHER

SN: 10001-UP

3шт.

17

382-025522-1

NUT

SN: 10001-UP

3шт.

18

382-129083-1

CLAMP

SN: 11304-UP

4шт.

|18

382-129083-1

CLAMP

SN: 10001-11303

6шт.

19

381-299413-1

CLAMP

SN: 11304-UP

2шт.

20

385-11093071

GROMMET

SN: 11304-UP

2шт.

21

385-11276271

YOKE

SN: 14054-UP

1шт.

22

382-023840-1

PIN

SN: 14054-UP

1шт.

23

384-0103374

PIN

SN: 14054-UP

1шт.

24

382-025931-1

NUT

SN: 15843-UP

4шт.

|24

382-025521-1

NUT

SN: 14486-15842

4шт.

Выбрано товаров: 0