Запчасти Komatsu 510-1 РЕЗЕРВУАР(№-) УПРАВЛ-Е РАБОЧИМ ОБОРУДОВАНИЕМ

Схема запчастей Komatsu 510-1 - РЕЗЕРВУАР(№-) УПРАВЛ-Е РАБОЧИМ ОБОРУДОВАНИЕМ
FIT
1:1
100%

Артикул

Название

Примечание

Количество

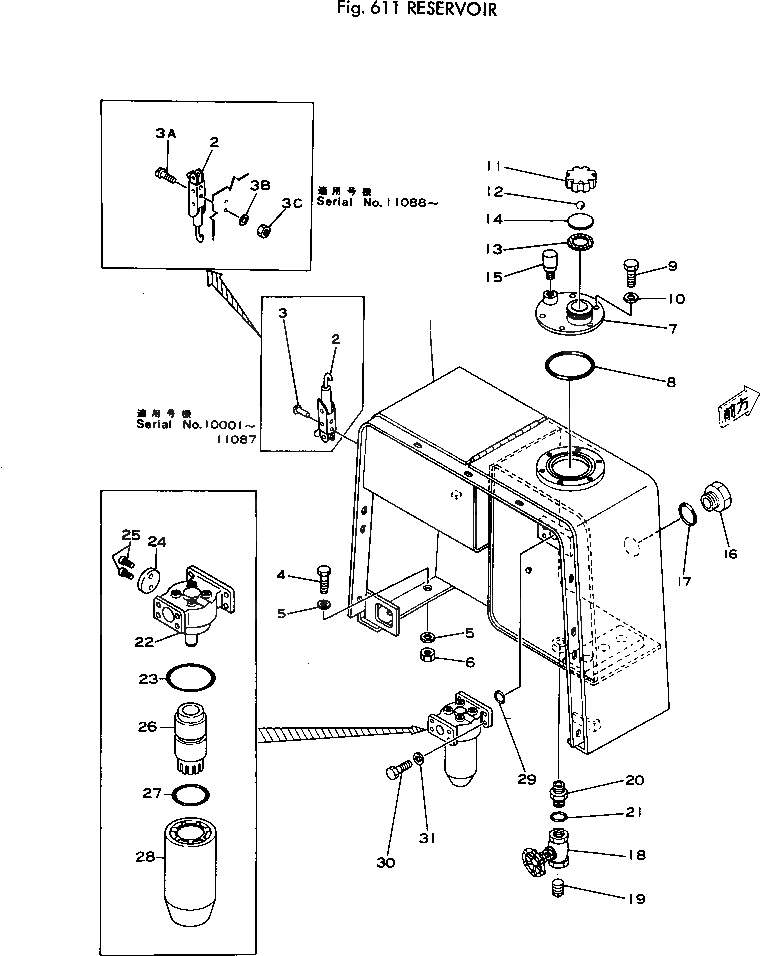
1

385-11093851

RESERVOIR

SN: 12024-14003

1шт.

|1

0

RESERVOIR

SN: 11371-12023

1шт.

|1

0

RESERVOIR

SN: 10260-11370

1шт.

|1

0

RESERVOIR

SN: 10001-10259

1шт.

2

380-142433-1

LATCH

SN: 10001-14003

1шт.

3

384-0102676

RIVET

SN: 10001-11087

2шт.

3A

384-0132908

SCREW

SN: 11088-@

2шт.

3B

384-0131096

WASHER

SN: 11088-@

2шт.

3C

384-0120614

NUT

SN: 11088-@

2шт.

4

382-024863-1

BOLT

SN: 10001-@

4шт.

5

382-025555-1

WASHER

SN: 10001-@

8шт.

6

384-9412230

NUT

SN: 10001-@

4шт.

7

381-937608-2

NECK

SN: 10001-@

1шт.

8

382-022401-1

O-RING

SN: 10001-@

1шт.

9

382-024840-1

BOLT

SN: 10001-@

6шт.

10

382-025534-1

WASHER

SN: 10001-@

6шт.

|11

385-11037681

CAP ASS'Y

SN: 10001-@

1шт.

11

381-988178-1

CAP

SN: 10001-@

1шт.

12

382-017012-1

BALL

SN: 13392-@

1шт.

|12

0

BALL

SN: 10001-13391

1шт.

13

381-618688-1

GASKET

SN: 10001-@

1шт.

14

381-618689-1

PLATE

SN: 10001-@

1шт.

15

381-985272-1

BREATHER

SN: 10001-@

1шт.

16

381-933022-1

GAUGE

SN: 10001-@

1шт.

17

382-384942-1

O-RING

SN: 12024-@

1шт.

|17

0

O-RING

SN: 10001-12023

1шт.

18

385-10051171

VALVE,DRAIN

SN: 10001-@

1шт.

19

382-020969-1

PLUG

SN: 10001-@

1шт.

20

384-9402711

CONNECTOR

SN: 12024-@

1шт.

|20

0

CONNECTOR

SN: 10001-12023

1шт.

21

381-876108-1

O-RING

SN: 12024-@

1шт.

|21

0

O-RING

SN: 10001-12023

1шт.

22

385-11033141

FILTER ASS'Y

SN: 10001-@

1шт.

|22

385-11053401

HEAD ASS'Y

SN: 10001-@

1шт.

23

381-940388-1

O-RING

SN: 10001-@

1шт.

24

385-11097061

INDICATOR

SN: 10001-13823

1шт.

25

381-940179-2

SCREW

SN: 10001-13823

1шт.

26

385-11053422

CAGE ASS'Y

SN: 10001-@

1шт.

27

381-876077-1

O-RING

SN: 10001-@

1шт.

28

385-11034622

ELEMENT

SN: 13824-@

1шт.

|28

0

ELEMENT

SN: 10001-13823

1шт.

29

381-876074-1

O-RING

SN: 12024-@

1шт.

|29

0

O-RING

SN: 10001-12023

1шт.

30

382-024840-1

BOLT

SN: 10092-@

4шт.

|30

0

BOLT

SN: 10001-10091

4шт.

31

382-025534-1

WASHER

SN: 10001-@

4шт.

Выбрано товаров: 46