Запчасти Komatsu 515-1 КОМПОНЕНТЫ (ОБСЛУЖИВ-Е)¤ ДЛЯ БОКОВ. СДВИГ ANGLE SNOW PНИЗ. ОПЦИОННЫЕ КОМПОНЕНТЫ

Схема запчастей Komatsu 515-1 - КОМПОНЕНТЫ (ОБСЛУЖИВ-Е)¤ ДЛЯ БОКОВ. СДВИГ ANGLE SNOW PНИЗ. ОПЦИОННЫЕ КОМПОНЕНТЫ
FIT
1:1
100%

Артикул

Название

Примечание

Количество

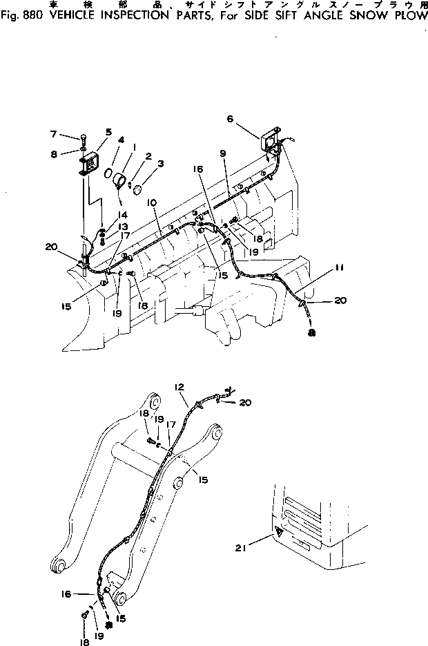
|1

385-10170761

PARTS KIT,(FOR S.P.A.P.)

SN: 10001-UP

1шт.

1

385-10168701

LAMP

SN: 10001-UP

2шт.

2

381-897693-1

BULB¤ 3W

SN: 10001-UP

1шт.

3

385-10168961

LENS,YELLOW

SN: 10001-UP

1шт.

4

385-10168971

LENS,ORANGE

SN: 10001-UP

1шт.

5

385-10107411

GUARD,LAMP¤ L.H.

SN: 10001-UP

1шт.

6

385-10106372

GUARD,LAMP¤ R.H.

SN: 10001-UP

1шт.

7

382-024859-1

BOLT

SN: 10001-UP

2шт.

8

384-0131101

WASHER

SN: 10001-UP

2шт.

9

385-10168482

WIRING HARNESS

SN: 10001-UP

1шт.

10

385-10168571

WIRING HARNESS

SN: 10001-UP

1шт.

11

385-10170781

WIRING HARNESS

SN: 10001-UP

1шт.

12

385-10168692

WIRING HARNESS

SN: 10001-UP

1шт.

13

01220-40408

SCREW

SN: 10001-UP

1шт.

14

01601-20410

WASHER

SN: 10001-UP

1шт.

15

382-326089-1

BOSS

SN: 10001-UP

9шт.

16

382-129083-1

CLAMP

SN: 10001-UP

2шт.

17

381-299400-1

CLAMP

SN: 10001-UP

10шт.

18

382-024839-1

BOLT

SN: 10001-UP

10шт.

19

382-025534-1

WASHER

SN: 10001-UP

10шт.

20

381-976196-1

STRAP

SN: 10001-UP

10шт.

21

381-897895-1

PLATE¤ MARK

SN: 10001-UP

1шт.

Выбрано товаров: 22