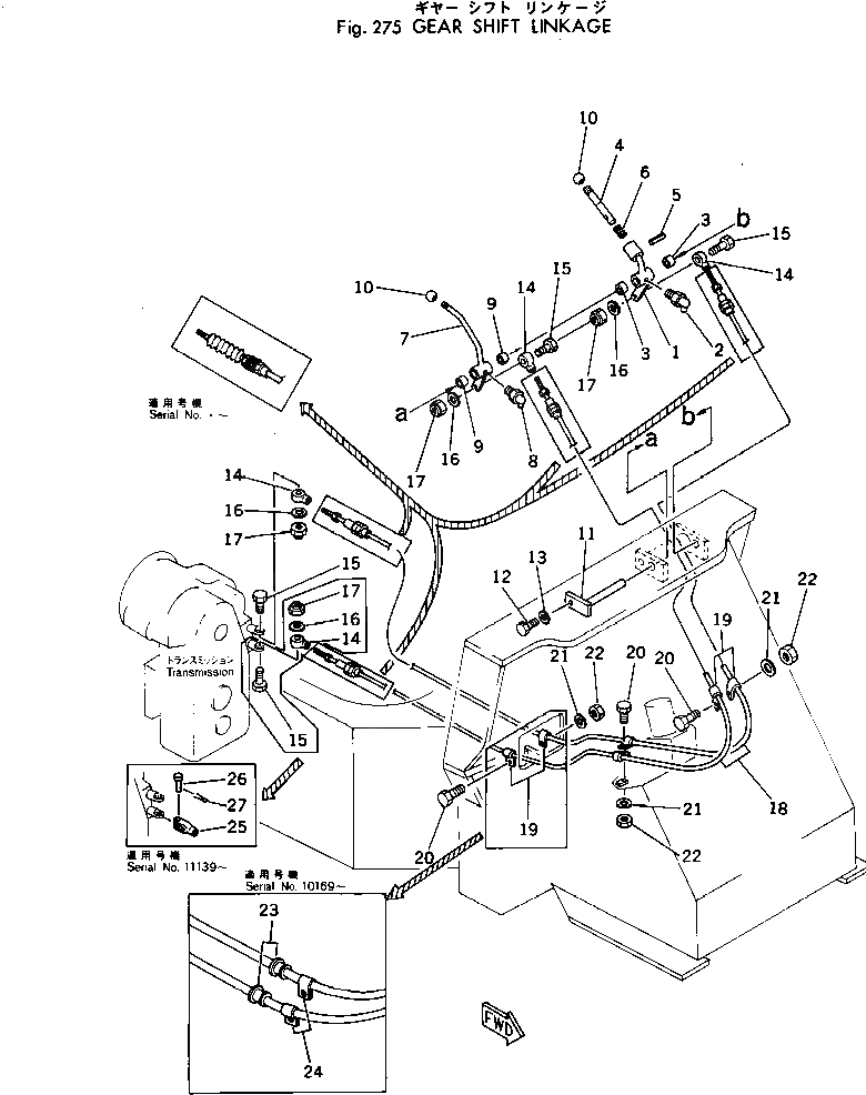
Запчасти Komatsu 515-1 МЕХАНИЗМ ПЕРЕКЛЮЧЕНИЯ ПЕРЕДАЧ ТРАНСМИССИЯ

Схема запчастей Komatsu 515-1 - МЕХАНИЗМ ПЕРЕКЛЮЧЕНИЯ ПЕРЕДАЧ ТРАНСМИССИЯ
FIT
1:1
100%

Артикул

Название

Примечание

Количество

|1

385-11038691

LEVER ASS'Y,1ST¤ 2ND AND 3RD

SN: 10001-UP

1шт.

1

0

LEVER

SN: 10001-UP

1шт.

2

384-0109462

FITTING

SN: 10001-UP

1шт.

3

381-621050-1

BEARING

SN: 10001-UP

2шт.

4

385-11038651

ROD

SN: 10001-UP

1шт.

5

380-153964-1

PIN

SN: 10001-UP

1шт.

6

380-885118-3

SPRING

SN: 10001-UP

1шт.

|7

385-11038701

LEVER ASS'Y,FORWARD AND REVERSE

SN: 10001-UP

1шт.

7

0

LEVER

SN: 10001-UP

1шт.

8

384-0109462

FITTING

SN: 10001-UP

1шт.

9

381-621050-1

BEARING

SN: 10001-UP

2шт.

10

381-923134-1

KNOB

SN: 10001-UP

2шт.

11

385-11014592

PIN

SN: 10001-UP

1шт.

12

382-023839-1

BOLT

SN: 10001-UP

1шт.

13

382-025553-1

WASHER

SN: 10001-UP

1шт.

14

381-514358-1

END,ROD

SN: 11139-UP

3шт.

|14

381-514358-1

END,ROD

SN: 10001-11138

4шт.

15

382-025751-1

BOLT

SN: 11139-UP

3шт.

|15

382-025751-1

BOLT

SN: 10001-11138

4шт.

16

382-025533-1

WASHER

SN: 11139-UP

3шт.

|16

382-025533-1

WASHER

SN: 10001-11138

4шт.

17

384-9413977

NUT

SN: 11139-UP

3шт.

|17

384-9413977

NUT

SN: 10001-11138

4шт.

18

385-10158681

CABLE

SN: .-UP

2шт.

|18

0

CABLE

SN: 10001-.

2шт.

19

382-129083-1

CLAMP

SN: 10169-UP

4шт.

|19

382-129083-1

CLAMP

SN: 10001-10168

6шт.

20

382-024840-1

BOLT

SN: 10001-UP

3шт.

21

382-025534-1

WASHER

SN: 10001-UP

3шт.

22

382-025522-1

NUT

SN: 10001-UP

3шт.

23

385-11093071

GROMMET

SN: 10169-UP

2шт.

24

381-299413-1

CLAMP

SN: 10169-UP

2шт.

25

385-11276271

YOKE

SN: 11139-UP

1шт.

26

382-023840-1

PIN

SN: 11139-UP

1шт.

27

384-0103374

PIN

SN: 11139-UP

1шт.

Выбрано товаров: 35