Запчасти Komatsu 515-1 КЛАПАН И МЕХ-М УПРАВЛ-Я (3-Х СЕКЦИОНН.) ОПЦИОННЫЕ КОМПОНЕНТЫ

Схема запчастей Komatsu 515-1 - КЛАПАН И МЕХ-М УПРАВЛ-Я (3-Х СЕКЦИОНН.) ОПЦИОННЫЕ КОМПОНЕНТЫ
FIT
1:1
100%

Артикул

Название

Примечание

Количество

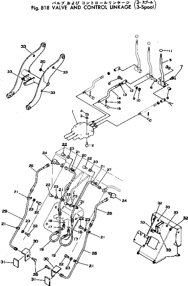
|1

385-11221691

HYDRAULIC KIT

SN: 10001-UP

1шт.

1

385-11093086

VALVE ASS'Y,3-SPOOL

SN: .-UP

1шт.

|1

0

VALVE ASS'Y,3-SPOOL

SN: 10001-.

1шт.

2

382-024869-1

BOLT

SN: 10001-UP

3шт.

3

382-025555-1

WASHER

SN: 10001-UP

6шт.

4

384-9412230

NUT

SN: 10001-UP

3шт.

|5

385-11221731

HYDRAULIC KIT

SN: 10001-UP

1шт.

|5

385-11081733

ARM ASS'Y

SN: 10001-UP

1шт.

5

385-11081743

ARM

SN: 10001-UP

1шт.

6

381-621050-1

BEARING

SN: 10001-UP

2шт.

7

384-0126152

FITTING

SN: 10001-UP

1шт.

8

382-024863-1

BOLT

SN: 10001-UP

1шт.

9

382-025536-1

WASHER

SN: 10001-UP

1шт.

10

384-9412230

NUT

SN: 10001-UP

1шт.

11

381-986809-1

KNOB

SN: 10001-UP

1шт.

12

381-899391-1

END,ROD

SN: 10001-UP

1шт.

13

382-025527-1

NUT

SN: 10001-UP

1шт.

14

385-11081721

ROD

SN: 10001-UP

1шт.

15

384-0121741

PIN

SN: 10001-UP

1шт.

16

384-0103374

PIN

SN: 10001-UP

1шт.

17

384-9411107

ELBOW

SN: 10001-UP

2шт.

18

382-368269-1

O-RING

SN: 10001-UP

2шт.

19

385-11080101

HOSE

SN: 10001-UP

2шт.

20

385-11080041

TUBE,R.H.

SN: 10001-UP

1шт.

21

380-102818-1

CLAMP

SN: 10001-UP

8шт.

22

382-024839-1

BOLT

SN: 10001-UP

8шт.

23

382-025534-1

WASHER

SN: 10001-UP

8шт.

24

385-11080021

ELBOW

SN: 10001-UP

2шт.

25

385-11080111

HOSE

SN: 10001-UP

2шт.

26

384-9403333

PLUG

SN: 10001-UP

2шт.

27

385-11080031

TUBE,L.H.

SN: 10001-UP

1шт.

28

385-11083521

TUBE,L.H.

SN: 10001-UP

1шт.

29

385-11083531

TUBE,R.H.

SN: 10001-UP

1шт.

30

385-11080012

ANGLE

SN: 10001-UP

2шт.

31

385-11080001

BAR

SN: 10001-UP

2шт.

32

385-11079991

SUPPORT

SN: 10001-UP

2шт.

33

382-326089-1

BOSS

SN: 10001-UP

8шт.

Выбрано товаров: 37