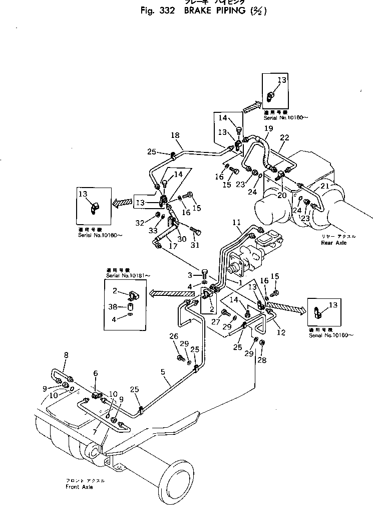
Запчасти Komatsu 520B-1 ТОРМОЗНАЯ ГИДРОЛИНИЯ (/) ПРИВОДВАЛ¤ ДИФФЕРЕНЦ. И КОЛЕСА

Схема запчастей Komatsu 520B-1 - ТОРМОЗНАЯ ГИДРОЛИНИЯ (/) ПРИВОДВАЛ¤ ДИФФЕРЕНЦ. И КОЛЕСА
FIT
1:1
100%

Артикул

Название

Примечание

Количество

1

385-10261701

TUBE

SN: 10001-UP

1шт.

2

385-11050261

ADAPTER ASS'Y

SN: 10001-UP

1шт.

3

382-025750-1

BOLT

SN: 10181-UP

1шт.

|3

382-025653-1

BOLT

SN: 10001-10180

1шт.

4

382-025533-1

WASHER

SN: 10181-UP

1шт.

|4

382-025533-1

WASHER

SN: 10001-10180

2шт.

5

385-11261091

TUBE

SN: 10001-UP

1шт.

6

385-11049071

TEE

SN: 10001-UP

1шт.

7

385-11252901

TUBE

SN: 10001-UP

1шт.

8

385-11252871

TUBE

SN: 10001-UP

1шт.

9

385-11017361

FITTING

SN: 10001-UP

2шт.

10

382-369384-1

O-RING

SN: 10001-UP

2шт.

11

385-10261712

TUBE

SN: 10052-UP

1шт.

|11

0

TUBE

SN: 10001-10051

1шт.

12

385-11273221

TUBE

SN: 10001-UP

1шт.

13

385-11290231

CONNECTOR

SN: 10160-UP

3шт.

|13

385-11049071

TEE

SN: 10001-10159

3шт.

14

380-145339-1

PLUG

SN: 10001-10159

3шт.

15

382-024859-1

BOLT

SN: 10001-UP

3шт.

16

382-025546-1

WASHER

SN: 10001-UP

3шт.

17

385-11048911

HOSE

SN: 10001-UP

1шт.

18

385-11273231

TUBE

SN: 10001-UP

1шт.

19

385-11261071

HOSE

SN: 10001-UP

1шт.

20

385-11049071

TEE

SN: 10001-UP

1шт.

21

385-11252871

TUBE

SN: 10001-UP

1шт.

22

385-11252901

TUBE

SN: 10001-UP

1шт.

23

385-11017361

FITTING

SN: 10001-UP

2шт.

24

382-369384-1

O-RING

SN: 10001-UP

2шт.

25

381-299399-1

CLAMP

SN: 10001-UP

4шт.

26

382-025752-1

BOLT

SN: 10001-UP

3шт.

27

382-025222-1

BOLT

SN: 10001-UP

1шт.

28

382-025519-1

NUT

SN: 10001-UP

1шт.

29

382-025532-1

WASHER

SN: 10001-UP

5шт.

Выбрано товаров: 33