Запчасти Komatsu 530-1 ТОПЛИВН. БАК.(№-) КОМПОНЕНТЫ ДВИГАТЕЛЯ И ЭЛЕКТРИКА

Схема запчастей Komatsu 530-1 - ТОПЛИВН. БАК.(№-) КОМПОНЕНТЫ ДВИГАТЕЛЯ И ЭЛЕКТРИКА
FIT
1:1
100%

Артикул

Название

Примечание

Количество

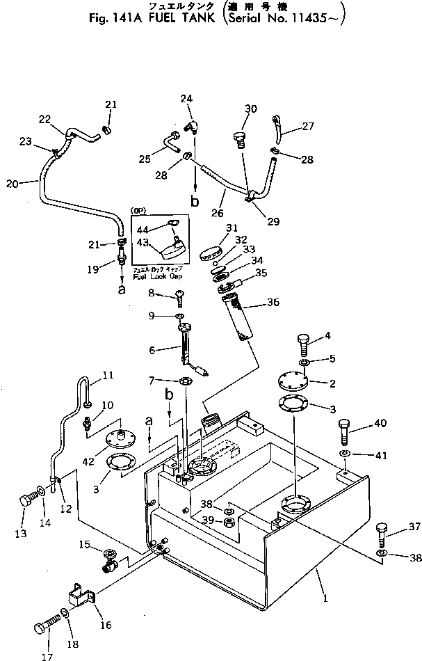
1

385-10321052

TANK,FUEL

SN: .-UP

1шт.

|1

0

TANK,FUEL

SN: 11435-.

1шт.

2

381-986021-3

COVER

SN: 10373-UP

1шт.

3

381-986022-2

GASKET

SN: 10001-UP

2шт.

4

382-024840-1

BOLT

SN: 10001-UP

12шт.

5

382-025544-1

WASHER

SN: 10001-UP

12шт.

6

385-10227201

SENDER,FUEL LEVEL

SN: 11435-UP

1шт.

7

385-10191931

GASKET

SN: 10241-UP

1шт.

8

384-0132908

SCREW

SN: 10001-UP

5шт.

9

384-0120391

WASHER

SN: 10001-UP

5шт.

10

381-610082-1

ADAPTER

SN: 10373-UP

1шт.

11

385-10234121

TUBE

SN: 10373-UP

1шт.

12

382-972555-1

CLAMP

SN: 10001-UP

1шт.

13

382-024838-1

BOLT

SN: 10001-UP

1шт.

14

382-025534-1

WASHER

SN: 10001-UP

1шт.

15

385-10051171

VALVE

SN: 11435-UP

1шт.

16

385-10003651

COVER

SN: 10001-UP

1шт.

17

382-024840-1

BOLT

SN: 10001-UP

2шт.

18

382-025534-1

WASHER

SN: 10001-UP

2шт.

19

385-10160822

ADAPTER

SN: 10001-UP

1шт.

20

385-10160811

HOSE

SN: 10001-.

1шт.

21

07280-00810

CLAMP

SN: .-UP

2шт.

|21

07281-00137

CLAMP

SN: 10001-.

2шт.

22

381-299609-1

CLAMP

SN: .-UP

1шт.

|22

381-360713-1

CLAMP

SN: 10001-.

1шт.

23

381-976197-1

STRAP

SN: 10001-UP

1шт.

24

384-9402864

ELBOW

SN: 10001-UP

1шт.

25

385-10076601

TUBE

SN: 10001-UP

1шт.

26

380-885922-1

HOSE

SN: 10001-UP

1шт.

27

380-890209-1

TUBE

SN: 10001-UP

1шт.

28

383-30746171

CLAMP

SN: .-UP

2шт.

|28

0

CLAMP

SN: 10001-.

2шт.

29

381-299566-1

CLAMP

SN: 10001-UP

1шт.

30

382-024838-1

BOLT

SN: 10001-UP

1шт.

|31

385-11037681

CAP ASS'Y

SN: 10001-UP

1шт.

31

381-988178-1

CAP

SN: 10001-UP

1шт.

32

382-017012-1

BALL

SN: 10001-UP

1шт.

33

381-618689-1

PLATE

SN: 10001-UP

1шт.

34

381-618688-1

GASKET

SN: 10001-UP

1шт.

35

382-629841-1

RING

SN: 10001-UP

2шт.

36

381-944442-1

FILTER

SN: 10001-UP

1шт.

37

382-024877-1

BOLT

SN: 10001-UP

2шт.

38

382-025556-1

WASHER

SN: 10001-UP

4шт.

39

384-9412231

NUT

SN: 10817-UP

2шт.

40

382-024874-1

BOLT

SN: 10001-UP

2шт.

41

382-025556-1

WASHER

SN: 10001-UP

2шт.

42

385-10087281

COVER

SN: 10373-UP

1шт.

|43

385-10385061

CAP (OP)

SN: 10001-UP

1шт.

43

385-10089551

CAP (OP)

SN: 10001-UP

1шт.

44

09460-00000

LOCK (OP)

SN: 10001-UP

1шт.

Выбрано товаров: 50